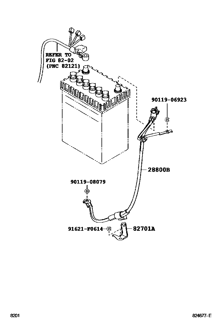
Toyota BB — BATTERY & BATTERY CABLE

28800BCABLE, BATTERY TO GROUND
8202WIRING & CLAMP
82701ABRACKET SUB-ASSY, WIRE HARNESS
9011906923
main90119-06923
9011908079
main90119-08079
91621F0614
main91621-F0614
6 parts on this diagram · 1 diagram in section
BATTERY & BATTERY CABLE for Toyota BB
This section contains 6 genuine Toyota parts for the BATTERY & BATTERY CABLE system of the Toyota BB. Key components include: CABLE, BATTERY TO GROUND, WIRING & CLAMP, BRACKET SUB-ASSY, WIRE HARNESS.