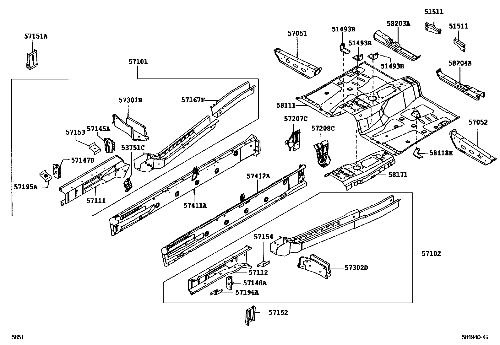
Toyota AVANZA — FRONT FLOOR PANEL & FRONT FLOOR MEMBER

51493BBRACKET, UNDER GUARD, FR NO.1
51511GUSSET, UPPER CONTROL ARM SUPPORT, RH
53751CBRACKET, CHARCOAL CANISTER MOUNTING
57101MEMBER SUB-ASSY, FRONT SIDE, RH
57102MEMBER SUB-ASSY, FRONT SIDE, LH
57111MEMBER, FRONT SIDE, RH
57112MEMBER, FRONT SIDE, LH
57145AREINFORCEMENT, FRONT SIDE MEMBER, REAR RH
57147BPLATE, FRONT SIDE MEMBER, REAR RH
57148APLATE, FRONT SIDE MEMBER, REAR LH
57151AREINFORCEMENT, FRONT SIDE MEMBER, NO.1 RH
57152REINFORCEMENT, FRONT SIDE MEMBER, NO.1 LH
57153REINFORCEMENT, FRONT SIDE MEMBER, NO.2 RH
57154REINFORCEMENT, FRONT SIDE MEMBER, NO.2 LH
57167FREINFORCEMENT, FRONT CROSSMEMBER SIDE, RH
57195AREINFORCEMENT, FRONT SIDE MEMBER, FRONT RH
57196AREINFORCEMENT, FRONT SIDE MEMBER, FRONT LH
57207CBRACKET SUB-ASSY, ENGINE REAR MOUNTING, RH
57208CBRACKET SUB-ASSY, ENGINE REAR MOUNTING, LH
57301BOUTRIGGER SUB-ASSY, NO.1 RH
57302DOUTRIGGER SUB-ASSY, NO.1 LH
57411AMEMBER, FLOOR SIDE, INNER RH
57412AMEMBER, FLOOR SIDE, INNER LH
58111PAN, FRONT FLOOR
58118EBRACKET, JACK SET
58171REINFORCEMENT, PARKING BRAKE BASE
58203AREINFORCEMENT SUB-ASSY, CENTER FLOOR PANEL, RH
58204AREINFORCEMENT SUB-ASSY, CENTER FLOOR PANEL, LH
30 parts on this diagram · 2 diagrams in section