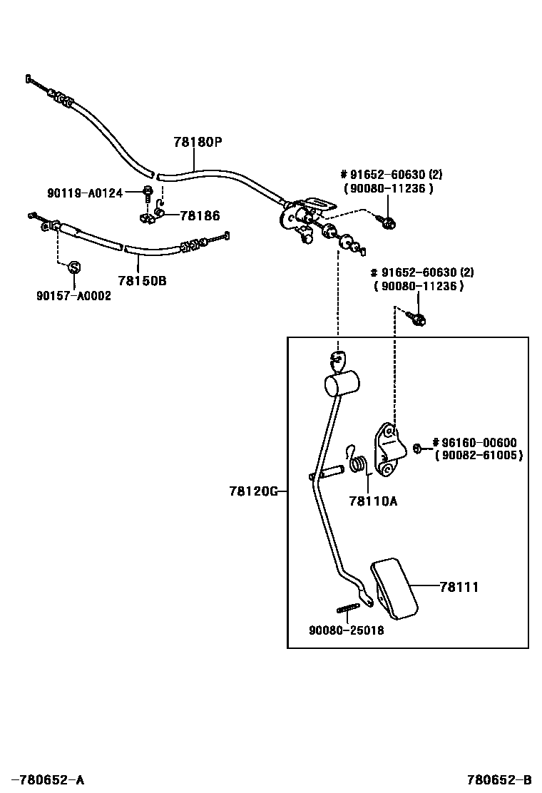
Toyota AVALON — ACCELERATOR LINK

78110ASPRING (FOR ACCELERATOR PEDAL ROD)
78111PEDAL, ACCELERATOR
78120GROD ASSY, ACCELERATOR PEDAL
78150BCABLE ASSY, ACCELERATOR AUTO DRIVE
78180PCABLE ASSY, ACCELERATOR CONTROL
78186SUPPORT, ACCELERATOR CONTROL CABLE, NO.1
9008011236
main90080-11236
9008025018
main90080-25018
9008261005
main90082-61005
90119A0124
main90119-A0124
90157A0002
main90157-A0002
9165260630
main91652-60630
9616000600
main96160-00600
13 parts on this diagram · 1 diagram in section