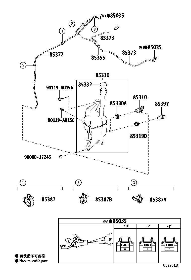
Toyota AVALON — WINDSHIELD WASHER

85035NOZZLE SUB-ASSY, WASHER
ANGLE 0
ANGLE +1
ANGLE -1
85310MOTOR AND PUMP ASSY, WINDSHIELD WASHER
85319DPACKING, FRONT WASHER
85330JAR ASSY, WINDSHIELD WASHER
85330ABUSH, WINDSHIELD WASHER JAR
85332CAP, WINDSHIELD WASHER JAR
85355VALVE, WINDSHIELD WASHER HOSE
85372HOSE, WINDSHIELD WASHER (FROM JOINT TO JOINT), NO.1
L=2040
85373HOSE, WINDSHIELD WASHER (FROM JOINT TO NOZZLE)
L=667
85387CLAMP NO.1 (FOR WINDSEIELD WASHER)
85387ACLAMP, WASHER, NO.2
85387BCLAMP, WASHER, NO.3
85397SWITCH ASSY,LEVEL WARNING
9008017245
main90080-17245
90119A0156
main90119-A0156
15 parts on this diagram · 1 diagram in section