E
EPC Data
Pricing
Sign In
Home
›
Toyota
›
AVALON
›
HORN
Toyota AVALON — HORN
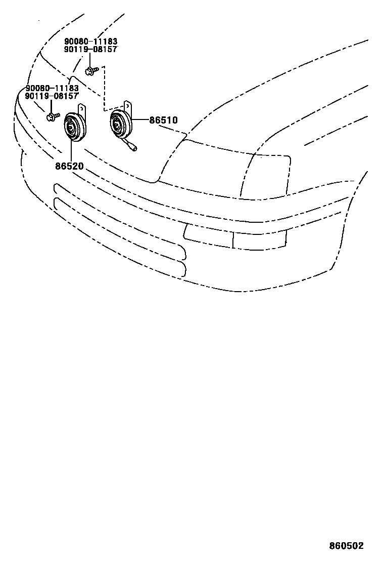
86510
HORN ASSY, HIGH PITCHED
main
86510-33090
i
MCX10
199508
86520
HORN ASSY, LOW PITCHED
main
86520-22230
i
MCX10
199508
9008011183
main
90080-11183
9011908157
main
90119-08157
4 parts on this diagram · 1 diagram in section