E
ToyotaEPC

Toyota AURIS/COROLLA (JPP)VENTURI

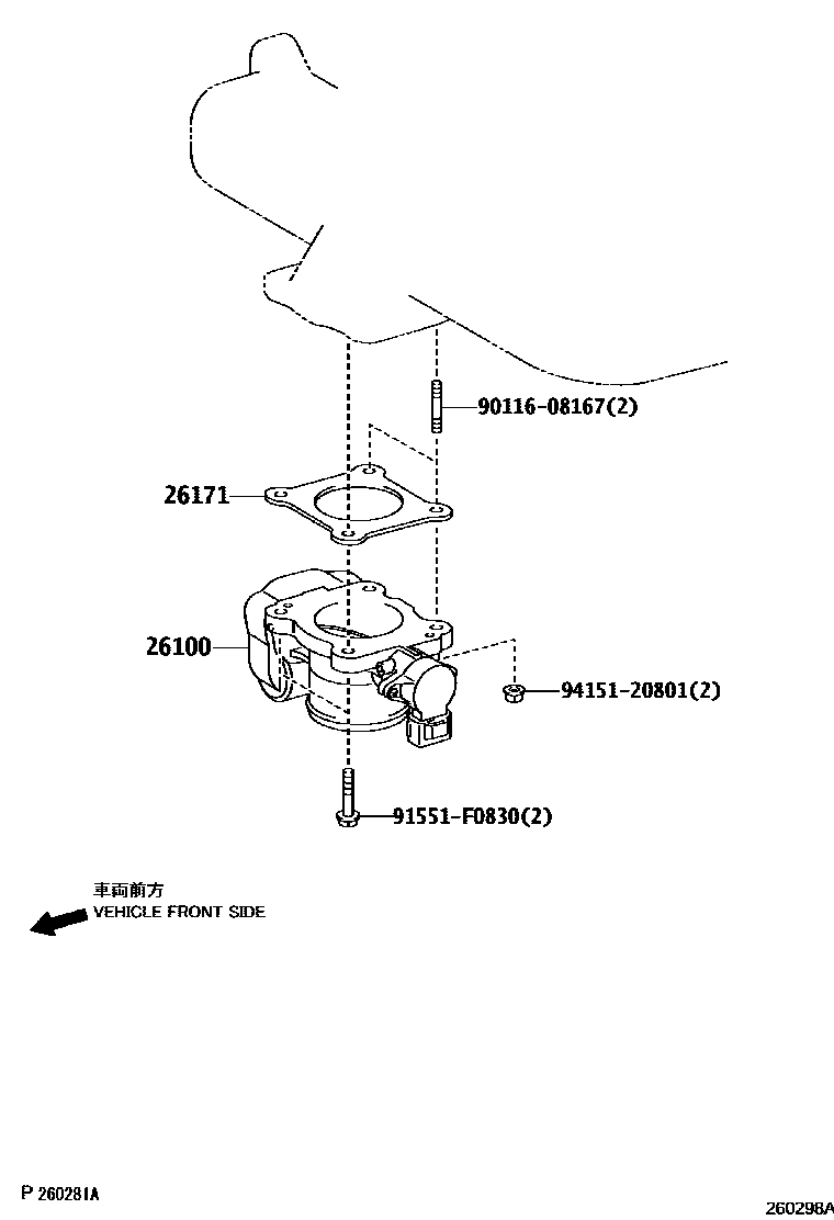
Parts diagram
26100VENTURI ASSY
main26100-0R011i200802-200901
(L)
main26100-0R020i200901-200910
main26100-26010i200610-200802
main26100-26020i200802-200901
(J)
26171GASKET, VENTURI
main26171-0R010i200901-200910
main26171-26010i200610-200901
main26171-33030i200812-200910
main26171-33040i200610-200812
9011608167
91551F0830
9415120801

5 parts on this diagram · 5 diagrams in section

VENTURI for Toyota AURIS/COROLLA (JPP)

This section contains 13 genuine Toyota parts for the VENTURI system of the Toyota AURIS/COROLLA (JPP). Key components include: RADIATOR & WATER OUTLET, MANIFOLD, VENTURI ASSY, BODY ASSY, DIESEL THROTTLE, GASKET, VENTURI.