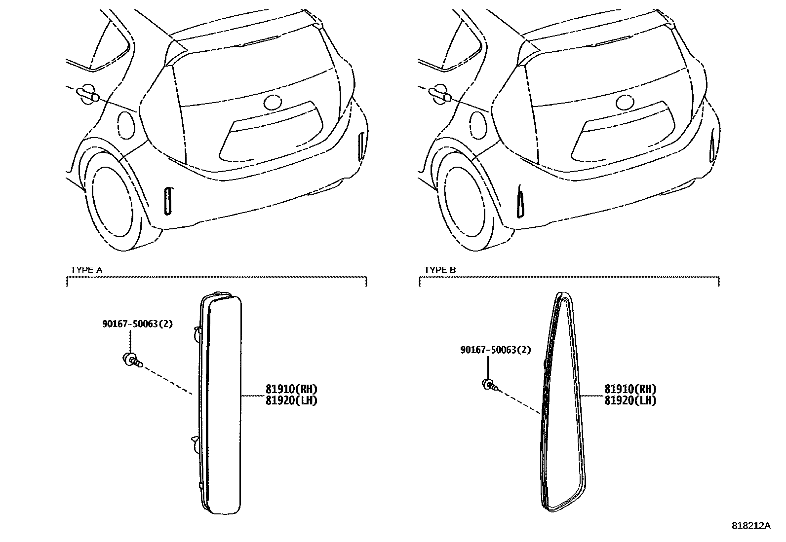
Toyota AQUA — REFLEX REFLECTOR

3 parts on this diagram · 1 diagram in section
REFLEX REFLECTOR for Toyota AQUA
This section contains 3 genuine Toyota parts for the REFLEX REFLECTOR system of the Toyota AQUA. Key components include: REFLECTOR ASSY, REFLEX, RH, REFLECTOR ASSY, REFLEX, LH.