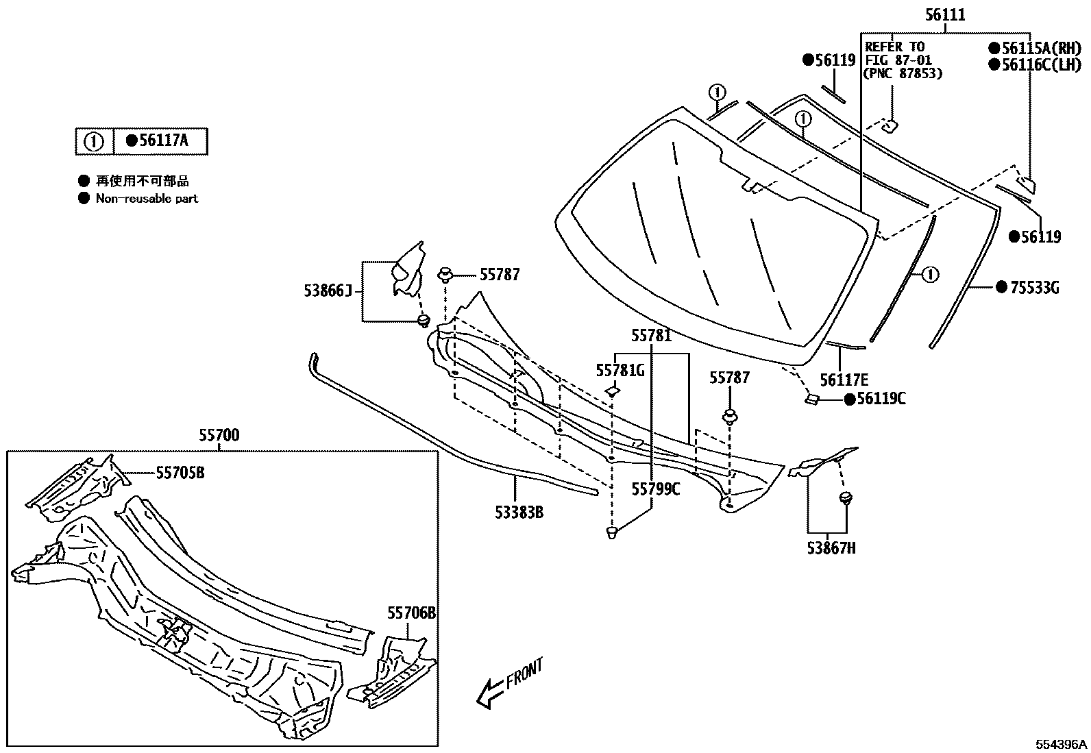
Toyota 86 — COWL PANEL & WINDSHIELD GLASS

53383BSEAL, HOOD TO COWL TOP
53866JSEAL, FRONT FENDER TO COWL SIDE, RH
53867HSEAL, FRONT FENDER TO COWL SIDE, LH
55705BPANEL SUB-ASSY, COWL TOP SIDE, RH
55706BPANEL SUB-ASSY, COWL TOP SIDE, LH
55781LOUVER, COWL VENTILATOR
55781GCLIP, COWL TOP VENTILATOR LOUVER
55787CLIP, COWL VENTILATOR LOUVER, INNER
55799CCLIP, COWL TOP VENTILATOR LOUVER
56111GLASS, WINDSHIELD
56115ASTOPPER, WINDSHIELD GLASS, NO.1
56116CSTOPPER, WINDSHIELD GLASS, NO.2
56117ADAM, WINDOW GLASS ADHESIVE
L=2281
56117EDAM, WINDOW GLASS ADHESIVE
L=1497.2
L=1497.2
56119SEAL, WINDSHIELD GLASS
56119CSEAL, WINDSHIELD GLASS
75533GMOULDING, WINDSHIELD, OUTSIDE
8701
19 parts on this diagram · 1 diagram in section