Toyota 86 GRMN — CYLINDER HEAD

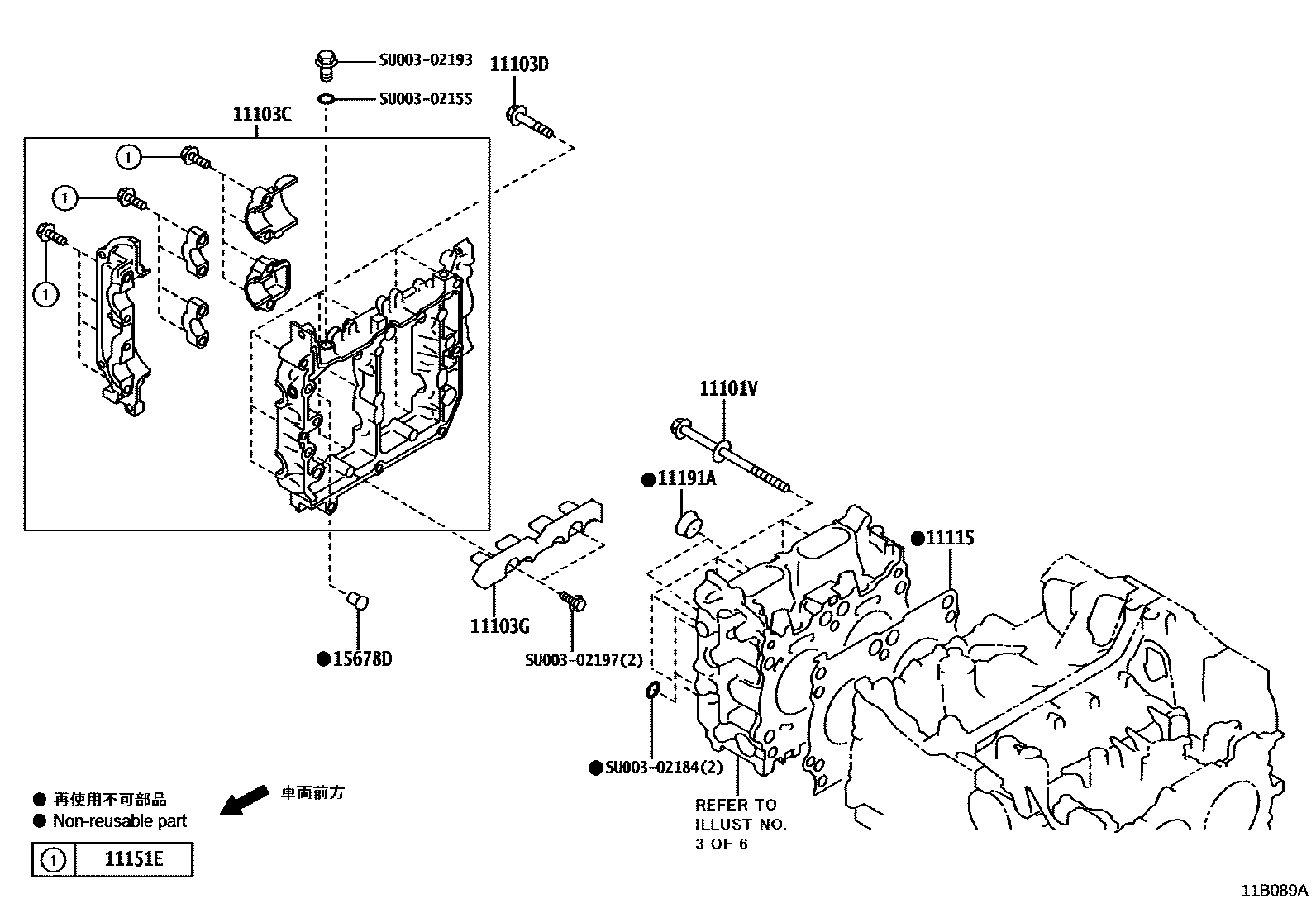
11101HEAD SUB-ASSY, CYLINDER
11101VBOLT(FOR CYLINDER HEAD SET SUB)
11103CHOUSING SUB-ASSY, CAMSHAFT, RH
11103DBOLT(FOR CAMSHAFT HOUSING TO CYLINDER HEAD, RH)
11103GSPACER, OIL, RH
11115GASKET, CYLINDER HEAD
11151EBOLT(FOR CAMSHAFT BEARING CAP TO HOUSING RH, NO.1)
11191AGASKET(FOR SPARK PLUG TUBE)
15678DFILTER, OIL CONTROL VALVE, RH
SU00302155
mainSU003-02155
SU00302184
mainSU003-02184
SU00302193
mainSU003-02193
SU00302197
mainSU003-02197
13 parts on this diagram · 6 diagrams in section
CYLINDER HEAD for Toyota 86 GRMN
This section contains 45 genuine Toyota parts for the CYLINDER HEAD system of the Toyota 86 GRMN. Key components include: CYLINDER BLOCK, HEAD SUB-ASSY, CYLINDER, BOLT(FOR CYLINDER HEAD SET SUB), HEAD & VALVE SET, CYLINDER, RH, HEAD, CYLINDER, LH.