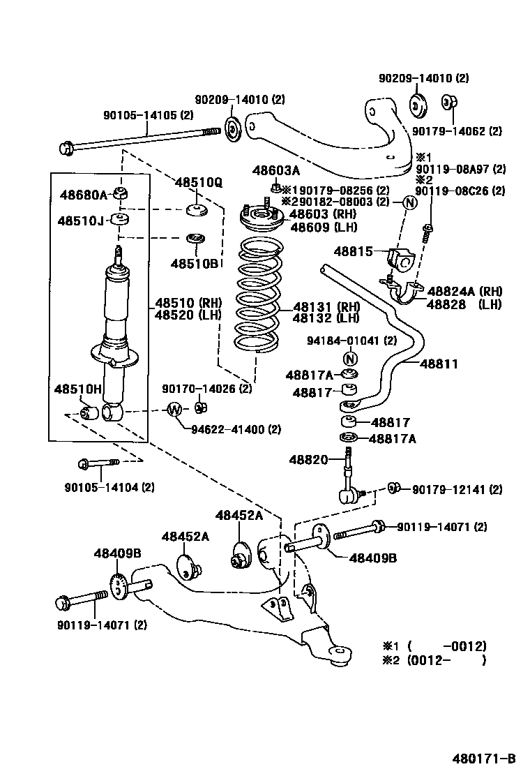
Toyota 4RUNNER — FRONT SPRING & SHOCK ABSORBER

48131SPRING, FRONT COIL, RH
L=324.0
L=344.0
W(265/70R16 TIRE)
W(265/70R16 TIRE)
W(265/70R16 TIRE)
W(265/70R16 TIRE)
L=337.0,W(265/70R16 TIRE)
L=344.0,W(265/70R16 TIRE)
L=361.5,W(265/70R16 TIRE)
L=368.0,W(265/70R16 TIRE)
L=316.5
48132SPRING, FRONT COIL, LH
L=327.5
W(265/70R16 TIRE)
W(265/70R16 TIRE)
W(265/70R16 TIRE)
W(265/70R16 TIRE)
L=338.0
L=344.0,W(265/70R16 TIRE)
L=351.5,W(265/70R16 TIRE)
L=368.0,W(265/70R16 TIRE)
L=374.0,W(265/70R16 TIRE)
L=322.5
48409BCAM SUB-ASSY, FRONT SUSPENSION TOE ADJUST
48452APLATE, FRONT SUSPENSION TOE ADJUST, NO.2
48510ABSORBER ASSY, SHOCK, FRONT RH
sub48510-39406
W(265/70R16 TIRE)
W(265/70R16 TIRE)
MARK 48511-3D070
MARK 48510-35220
48510BRETAINER, CUSHION, NO.1(FOR FRONT SHOCK ABSORBER)
48510HBUSH(FOR FRONT SHOCK ABSORBER)
48510JCUSHION, FRONT SHOCK ABSORBER, NO.1
48510QRETAINER, CUSHION, NO.3(FOR FRONT SHOCK ABSORBER)
48520ABSORBER ASSY, SHOCK, FRONT LH
sub48510-39406
W(265/70R16 TIRE)
W(265/70R16 TIRE)
MARK 48511-3D070
MARK 48510-35220
48603SUPPORT SUB-ASSY, FRONT SUSPENSION, RH
48603ANUT(FOR FRONT SUSPENSION SUPPORT)
48609SUPPORT SUB-ASSY, FRONT SUSPENSION, LH
48680ANUT(FOR FRONT SUPPORT TO FRONT SHOCK ABSORBER)
48811BAR, STABILIZER, FRONT
48815BUSH, FRONT STABILIZER BAR, NO.1
48817CUSHION, FRONT STABILIZER
48817ARETAINER, CUSHION, NO.1(FOR FRONT STABILIZER BAR)
48820LINK ASSY, FRONT STABILIZER
sub48820-AD010
48824ABRACKET, FRONT STABILIZER, NO.1 RH
48828BRACKET, FRONT STABILIZER, NO.2 LH
9010514104
main90105-14104
9010514105
main90105-14105
9011908A97
main90119-08A97
9011908C26
main90119-08C26
9011914071
main90119-14071
9017014026
main90170-14026
9017908256
main90179-08256
9017912141
main90179-12141
9017914062
main90179-14062
9018208003
main90182-08003
9020914010
main90209-14010
9418401041
main94184-01041
9462241400
main94622-41400
34 parts on this diagram · 1 diagram in section