Toyota 4-RUNNER TRUCK (JPP) — DISTRIBUTOR

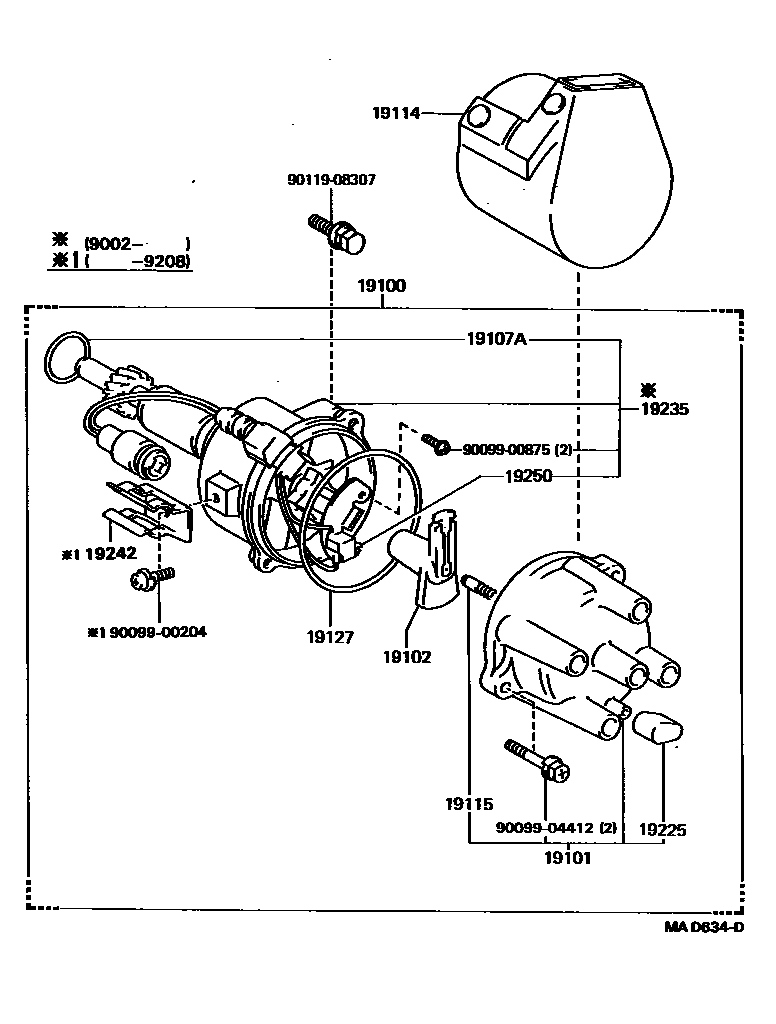
19100DISTRIBUTOR ASSY
19101CAP SUB-ASSY, DISTRIBUTOR
19102ROTOR SUB-ASSY, DISTRIBUTOR
19114COVER, WATER PROOF(FOR DISTRIBUTOR)
COLD SPEC
COLD SPEC
19115PIECE, DISTRIBUTOR CAP, CENTER
19225CAP, RUBBER
19235HOUSING, DISTRIBUTOR
19242CLAMP, CORD
19250GENERATOR ASSY, SIGNAL
9009900204
main90099-00204
9009900875
main90099-00875
9009904412
main90099-04412
9011908307
main90119-08307
15 parts on this diagram · 3 diagrams in section