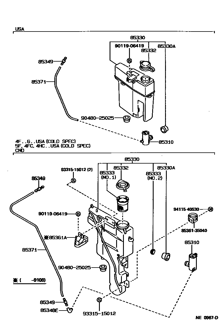
Toyota 4-RUNNER TRUCK (JPP) — WINDSHIELD WASHER

85310MOTOR AND PUMP ASSY, WINDSHIELD WASHER
sub85330-60140
COLD SPEC (IRELAND),DELCO
DELCO
COLD SPEC (IRELAND)
85330JAR ASSY, WINDSHIELD WASHER
COLD SPEC(IRELAND)
COLD SPEC(IRELAND)
COLD SPEC(IRELAND)
COLD SPEC (USA)
W(REAR WINDOW WIPER)
W(REAR WINDOW WIPER)
COLD SPEC (USA) & W(REAR WINDOW WIPER)
85330ABUSH, WINDSHIELD WASHER JAR
COLD SPEC (USA)
85333FILTER, WINDSHIELD WASHER JAR
DELCO,NO.1
COLD SPEC(USA),DELCO,NO.1
COLD SPEC(USA),NIPPONDENSO,NO.1
NIPPONDENSO,NO.1
COLD SPEC(USA)
COLD SPEC (USA),NO.1
NO.1
NO.2
COLD SPEC (USA),NO.2
85348JOINT, WINDSHIELD WASHER HOSE, NO.1
3-WAY
3-WAY,COLD SPEC (USA)
3WAY
2WAY,NO.2
2-WAY,NO.2
85348EJOINT, WINDSHIELD WASHER ELBOW, NO.2
COLD SPEC(USA)
85361ABRACKET, WINDSHIELD WASHER, NO.1
COLD SPEC (USA)
COLD SPEC (USA) OR W(REAR WINDOW WIPER)
COLD SPEC (USA)
COLD SPEC (USA) OR W(REAR WINDOW WIPER)
85371HOSE, WINDSHIELD WASHER (FROM MOTOR TO JOINT)
L=540
COLD SPEC(IRELAND)
L=1450(*H,L=480),COLD SPEC(IRELAND)
sub90099-33080
L=1450,COLD SPEC(IRELAND)
L=1450
L=1450,COLD SPEC (USA)
L=1450,W(REAR WINDOW WIPER)
L=1450,COLD SPEC (USA) & W(REAR WINDOW WIPRE)
L=1000
L=1000
L=1800
8536135040HOLDER, WINDSHIELD WASHER
main85361-35040
9011906419
main90119-06419
9048025025
main90480-25025
9331515012
main93315-15012
9411540530
main94115-40530
15 parts on this diagram · 4 diagrams in section