E
EPC Data

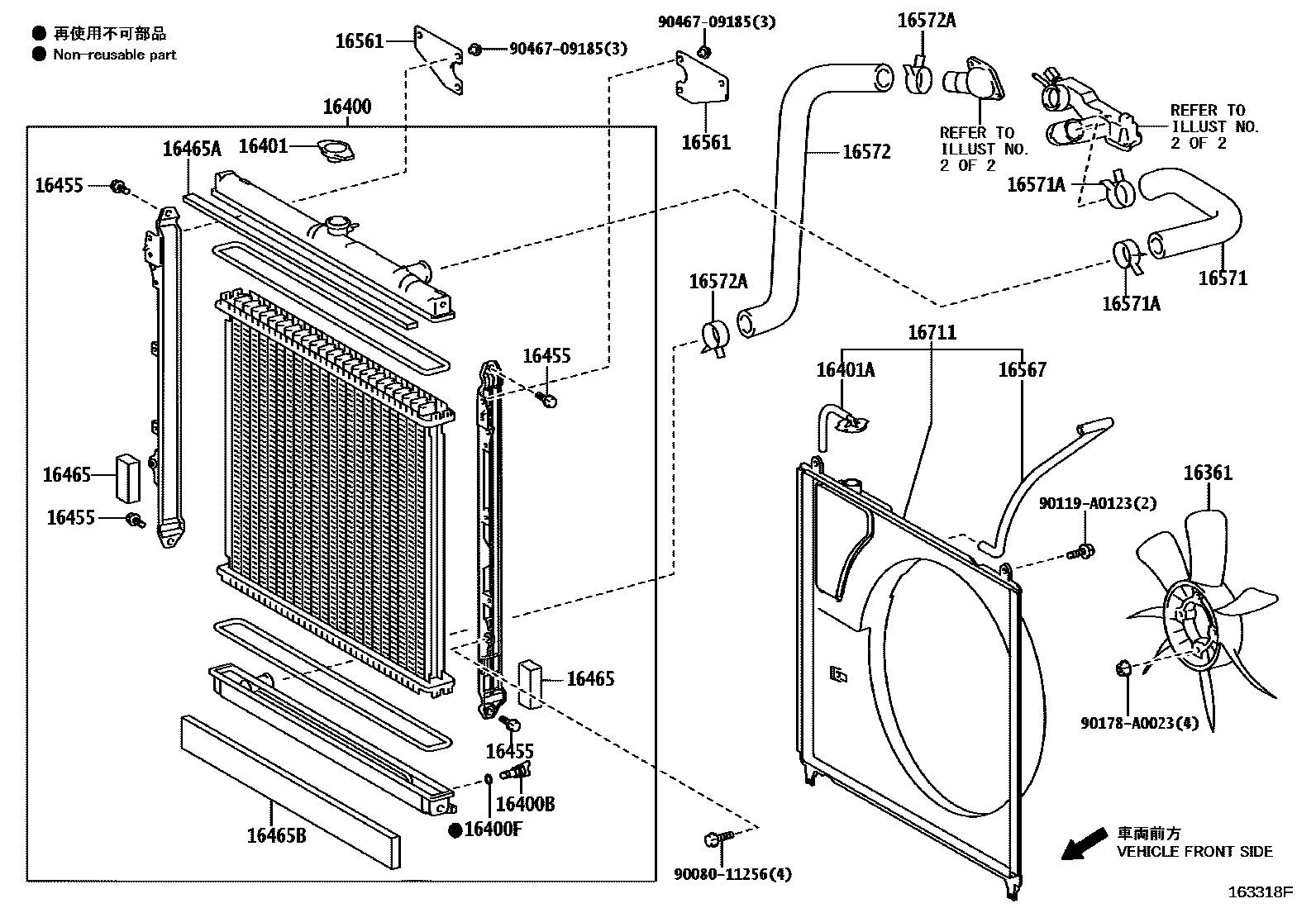
RADIATOR & WATER OUTLET

Parts diagram
16361FAN
main16361-38020i200711-201708
main16361-50110i200711-200904
16400RADIATOR ASSY
main16400-0F060i200711-200904
main16400-0S010i200711-201208
MARK=0S01
main16400-0S040i201308-201708
MARK=0S03
16400BPLUG, RADIATOR DRAIN COCK
main23322-54010i201708
16400FPACKING(FOR RADIATOR DRAIN COCK)
main16492-21050i200711-200904
16401CAP SUB-ASSY, RADIATOR
main16401-31480i200711-201208
TYPE B:REFER ILLUST.
main16401-36020i201708
main16401-62100i200711-200905
TYPE A:REFER ILLUST.
16401ACAP SUB-ASSY, RADIATOR RESERVE TANK
main16405-0P100i200711-201208
16455BOLT, RADIATOR SIDE SUPPORT PLATE
main91651-B0820×4i200711-200904
16465PACKING, RADIATOR
main16465-0F060×2i201708
16465APACKING, RADIATOR, NO.1
main16465-0P170i200711-200904
16465BPACKING, RADIATOR, NO.2
main16465-0S010i200711-200904
main16465-0S040i201308-201708
16561SEAL, RADIATOR TO SUPPORT, NO.1
main16561-0S010×2i200711-200904
16567HOSE(FOR RADIATOR RESERVE TANK)
main16567-0P100i200711-201708
16571HOSE, RADIATOR, INLET
main16571-0F040i200711-200904
main16571-0S010i200711-201208
16571ACLAMP OR CLIP, HOSE(FOR RADIATOR INLET)
main90466-41005×2i200711-200807
main90466-A0024×2i201708-201709
main90466-A0026×2i201104-201208
main96136-54801×2i200808-200904
16572HOSE, RADIATOR, OUTLET
main16572-0F020i200711-200904
main16572-0S010i200711-201311
main16572-0S011i201312-201406
main16572-0S012i201708-201709
16572ACLAMP OR CLIP, HOSE(FOR RADIATOR OUTLET NO.1)
main90466-41005×2i200711-200807
NO.1 & NO.2
main90466-A0024i201708-201709
NO.1
main90466-A0026i201708
NO.2
main96136-54801×2i200808-201103
NO.1 & NO.2
16711SHROUD, FAN
main16711-0F050i200711-200904
main16711-0S010i200711-201208
main16711-0S011i201406-201708
9008011256
90119A0123
90178A0023
9046709185

21 parts on this diagram · 9 diagrams in section

RADIATOR & WATER OUTLET — Toyota Parts Diagram with OEM Numbers & Prices | EPC Data