E
EPC Data

HEATING & AIR CONDITIONING - COOLER PIPING

Parts diagram
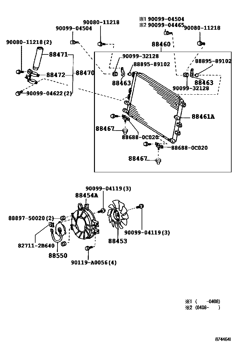
88453FAN, COOLING (FOR CONDENSER)
main88453-0C010i200009-200408
88454ASHROUD, FAN
main88454-0C010i200009-200408
main88454-0C020i200408
88460CONDENSER ASSY, COOLER
main88460-0C030i200009-200408
main88460-0C080i200408
88461ACORE, COOLER CONDENSER
main88461-0C020i200009-200408
88463BRACKET, COOLER CONDENSER, NO.1
main88463-0C010×2i200009-200408
88467CUSHION, COOLER CONDENSER, NO.1
main88467-32060×2i200107-200408
88470RECEIVER & DRYER ASSY, COOLER
main88470-0C020i200009-200208
main88470-0C021i200208-200408
88471TANK, RECEIVER AIR CONDITIONER
main88471-28070i200009-200408
88472BRACKET, RECEIVER TANK, NO.1
main88472-0C020i200009-200408
88550MOTOR ASSY, BLOWER (FOR CONDENSER)
main88550-34010i200009-200408
827112B640WIRE, FUSE TO FUSE(FOR COMBUSTION HEATER)
886880C020BRACKET, COOLER DIAPHRAGM
8889589102HOLDER, FUSE
8889750020VALVE, COOLER MAGNET
9008011218
9009904119
9009904465
9009904504
9009904622
9009932128
90119A0056

21 parts on this diagram · 5 diagrams in section

HEATING & AIR CONDITIONING - COOLER PIPING — Toyota Parts Diagram with OEM Numbers & Prices | EPC Data