E
EPC Data

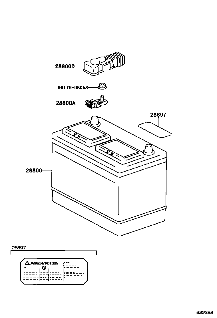
BATTERY & BATTERY CABLE

Parts diagram
28800BATTERY
main28800-0F010i200009-200408
105D31L,GNB
main28800-0F020i200009-200408
105D31L,JOHNSON
main28800-AA041i200009-200108
80D26L
28800ATERMINAL, BATTERY POSITIVE
main90982-05035i200009-200209
main90982-05054i200209-200408
28800DCOVER, CONNECTOR(FOR BATTERY TERMINAL)
main82821-35020i200009-200408
28897PLATE, BATTERY CAUTION
main28897-AA010i200009-200408
9017908053

5 parts on this diagram · 1 diagram in section

BATTERY & BATTERY CABLE — Toyota Parts Diagram with OEM Numbers & Prices | EPC Data