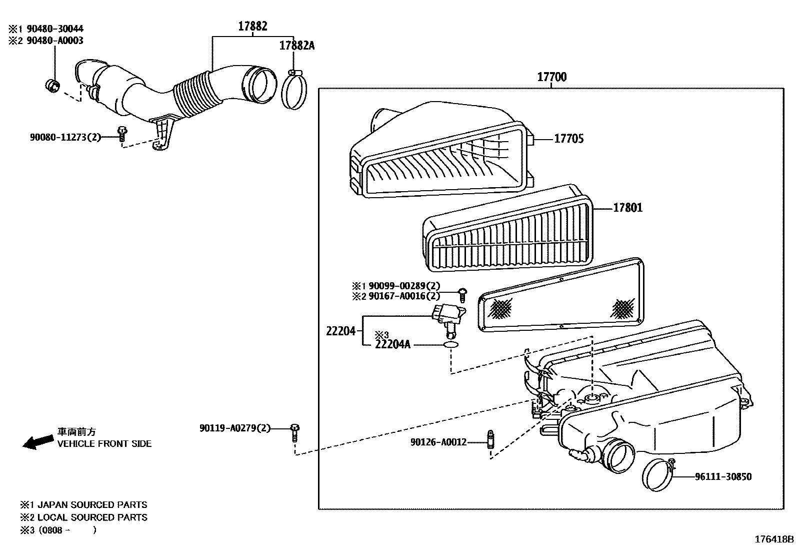
AIR CLEANER

17700CLEANER ASSY, AIR
17705CAP SUB-ASSY, AIR CLEANER
AIR CLEANER-WITHOUT(CARBON FILTER)
17801ELEMENT SUB-ASSY, AIR CLEANER FILTER
17882HOSE, AIR CLEANER, NO.2
17882ACLAMP(FOR AIR CLEANER HOSE, NO.2)
22204METER SUB-ASSY, INTAKE AIR FLOW
MARK 22204-0V010
MARK 22204-0V020
MARK 22204-28010
22204ARING, O(FOR INTAKE AIR FLOW METER)
9008011273
main90080-11273
9009900289
main90099-00289
90119A0279
main90119-A0279
90126A0012
main90126-A0012
90167A0016
main90167-A0016
9048030044
main90480-30044
90480A0003
main90480-A0003
9611130850
main96111-30850
15 parts on this diagram · 5 diagrams in section