E
EPC Data

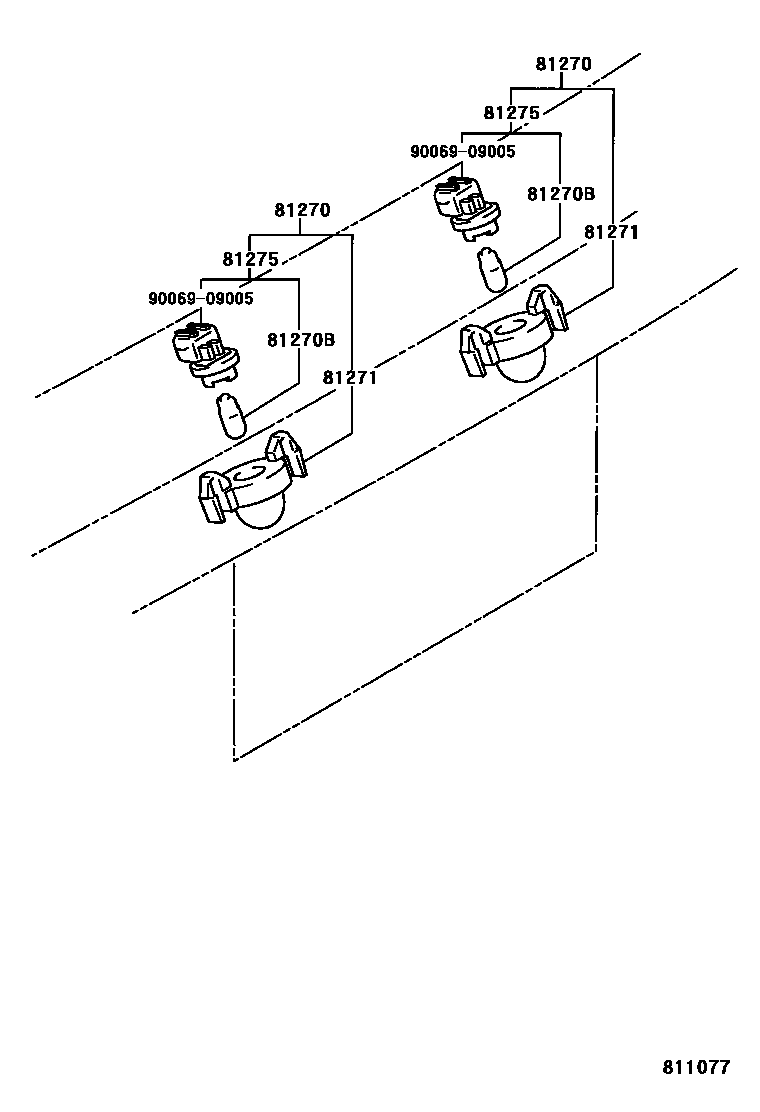
REAR LICENSE PLATE LAMP

Parts diagram
81270LAMP ASSY, LICENSE PLATE
main81270-04010×2i199902-200104
W/O(REAR BUMPER)
main81270-0C010i199902-200208
RH
main81690-0C010i200208-200408
LH
81270BBULB (FOR LICENSE PLATE LAMP)
main90080-81059×2i200408
12V 5.0W
main90081-81006×2i199902-200104
12V 3.8W
81271LENS, LICENSE PLATE LAMP
main81271-04010×2i199902-200104
main81271-0C010i200208-200408
81275SOCKET AND WIRE, LICENSE PLATE LAMP
main81275-04010×2i199902-200104
W/O(REAR BUMPER)
main90075-60005×2i199902-200208
9006909005

5 parts on this diagram · 2 diagrams in section

REAR LICENSE PLATE LAMP — Toyota Parts Diagram with OEM Numbers & Prices | EPC Data