REAR DOOR WINDOW REGULATOR & HINGE

68750HINGE ASSY, REAR DOOR, UPPER RH
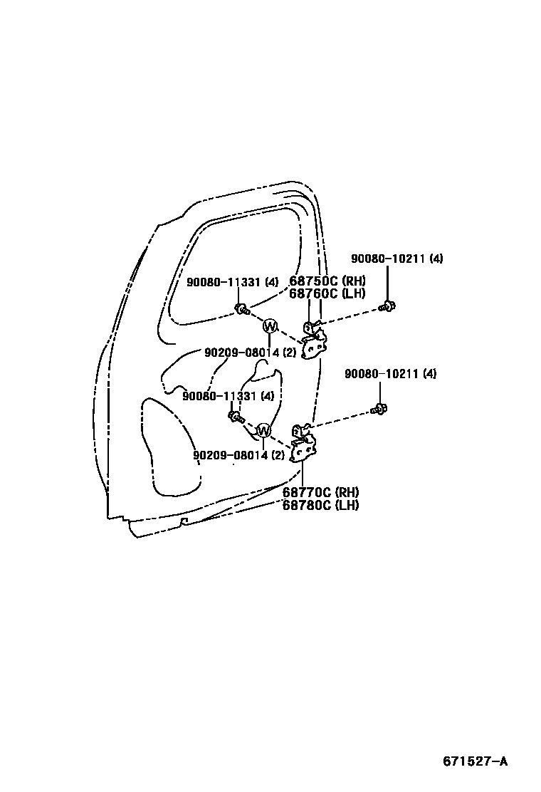
68750CHINGE ASSY, ACCESS PANEL, UPPER RH
68760HINGE ASSY, REAR DOOR, UPPER LH
68760CHINGE ASSY, ACCESS PANEL, UPPER LH
68770HINGE ASSY, REAR DOOR, LOWER RH
68770CHINGE ASSY, ACCESS PANEL, LOWER RH
68780HINGE ASSY, REAR DOOR, LOWER LH
68780CHINGE ASSY, ACCESS PANEL, LOWER LH
9008010211
main90080-10211
9008011331
main90080-11331
9020908014
main90209-08014
11 parts on this diagram · 2 diagrams in section