E
EPC Data

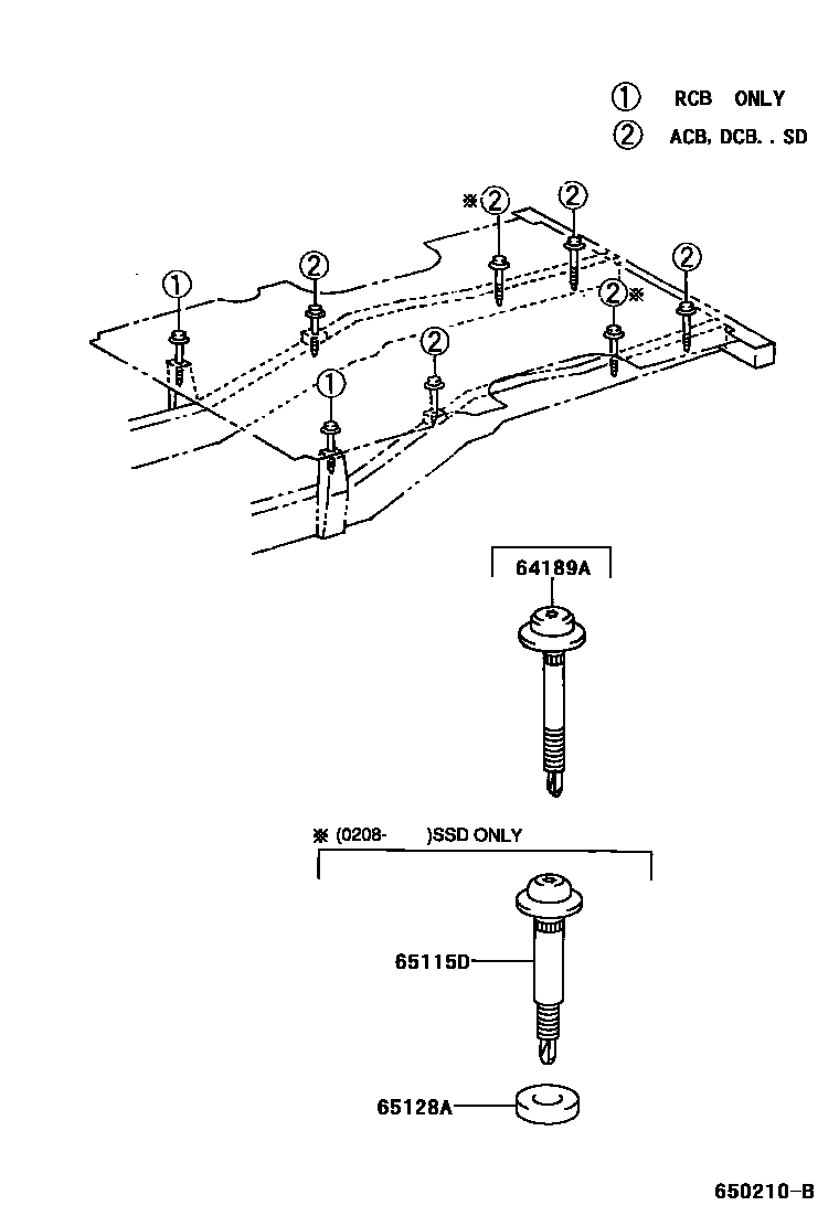
REAR BODY MOUNTING

Parts diagram
64189ABOLT, REAR BODY MOUNTING
main64189-0C010×4i200208-200308
main64189-0C011×6i200308-200408
main64189-34010×6i199902-200208
65115DSUPPORT, CROSS SILL
main65115-0C010×2i200208-200408
65128ASHIM, MAIN SILL, NO.4
main65128-0C010×2i200208-200408

3 parts on this diagram · 1 diagram in section

REAR BODY MOUNTING — Toyota Parts Diagram with OEM Numbers & Prices | EPC Data