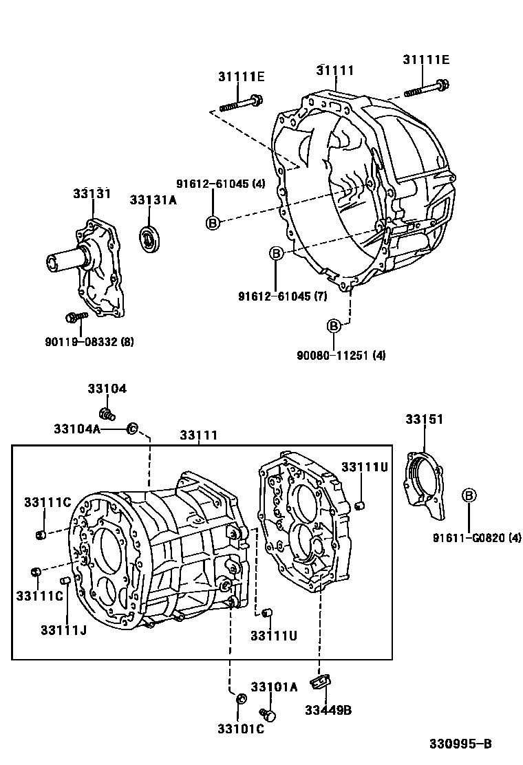
CLUTCH HOUSING & TRANSMISSION CASE (MTM)

31111HOUSING, CLUTCH
31111EBOLT(FOR TRANSAXLE & ENGINE SETTING)
*12-1.25PX70-30,(J)
*10-1.25PX115-30,(J)
*12-1.25PX50-30
*12-1.25PX70-30,(L)
*12-1.25PX115-30,(L)
33101CASE SUB-ASSY, MANUAL TRANSMISSION
33101APLUG(FOR MANUAL TRANSMISSION FILLER)
33101CGASKET(FOR MANUAL TRANSMISSION FILLER PLUG)
33104PLUG SUB-ASSY, DRAIN(MTM)
33104AGASKET, DRAIN PLUG(MTM)
33111CPLUG(FOR TRANSMISSION CASE)
OD=14
OD=10
OD=18
33111JPIN, STRAIGHT(FOR MANUAL TRANSMISSION CASE)
L=15,OD=8
L=16,OD=12
33111UPIN, RING(FOR MANUAL TRANSMISSION CASE)
L=8,OD=11
L=14,OD=15
33131RETAINER, BEARING, FRONT(MTM)
sub33131-35032
33131ASEAL, OIL(FOR TRANSMISSION FRONT BEARING RETAINER)
33151RETAINER, OUTPUT SHAFT REAR BEARING(MTM)
33449BMAGNET, TRANSMISSION
9008011251
main90080-11251
9011908332
main90119-08332
91611G0820
main91611-G0820
9161261045
main91612-61045
19 parts on this diagram · 2 diagrams in section