E
EPC Data

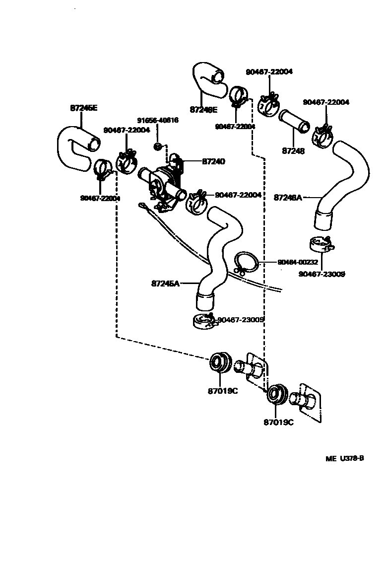
HEATING & AIR CONDITIONING - WATER PIPING

Parts diagram
87019CGROMMET, HEATER HOSE
main90480-36005×2i199208
87240VALVE ASSY, HEATER WATER
main87240-34010i199208
87245AHOSE, HEATER WATER, INLET A
main87245-34010i199208-199408
main87245-34060i199310
main87245-34080i199408
87245EHOSE, HEATER WATER, INLET E
main87245-34040i199208
main87245-34100i199408
87246AHOSE, HEATER WATER, OUTLET A
main87245-34020i199208-199408
main87245-34070i199310
main87245-34090i199408
87246EHOSE, HEATER WATER, OUTLET E
main87245-34030i199208-199408
main87245-34050i199310
87248PIPE SUB-ASSY, WATER
main87248-14090i199208-199312
main87248-34010i199310
main87265-35190i199312-199408
9046400232
9046722004
9046723009
9165640616

11 parts on this diagram · 3 diagrams in section

HEATING & AIR CONDITIONING - WATER PIPING — Toyota Parts Diagram with OEM Numbers & Prices | EPC Data