E
EPC Data

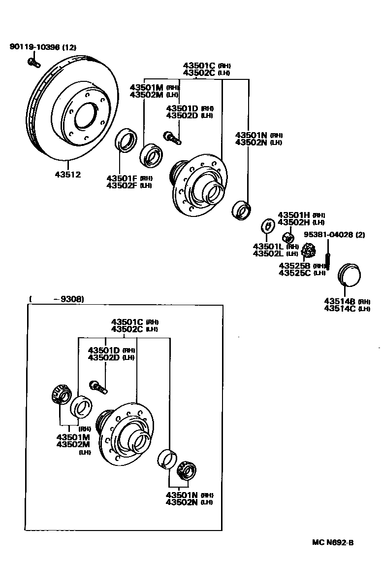
FRONT AXLE HUB

Parts diagram
43501CHUB SUB-ASSY, FRONT AXLE, RH
main43502-39085i199208-199807
main43503-29015i199408-199807
W(*66)
main43503-39015i199408-199807
W(*66)
main43511-35905i199208-199308
main43511-39015i199308-199807
43501DBOLT, HUB (FOR FRONT AXLE RH)
main90942-02049×6i199208
43501FSEAL, OIL (FOR FRONT AXLE HUB RH)
main90311-50005i199208
main90311-66001i199208-199508
INNER
main90311-66003i199508
INNER
main90313-92001i199508
OUTER
main90313-93002i199208-199508
OUTER
main90313-98001i199408
W(*66),OUTER
43501HNUT (FOR FRONT AXLE SHAFT RH)
main90170-19185i199208
43501LWASHER, CLAW (FOR FRONT AXLE HUB RH)
main90214-20007i199208
main90214-42030i199208
43501MBEARING (FOR FRONT AXLE HUB INNER RH)
main90080-36049i199308
main90080-36064i199208-199308
TIMKEN
main90368-34019i199208-199308
main90368-49084i199308
43501NBEARING (FOR FRONT AXLE HUB OUTER RH)
main90080-36052i199308
main90080-36067i199308
TIMKEN
main90368-22002i199208-199308
main90368-45087i199208-199308
43502CHUB SUB-ASSY, FRONT AXLE, LH
main43502-39085i199208-199807
main43503-29015i199408-199807
W(*66)
main43503-39015i199408-199807
W(*66)
main43511-35905i199208-199308
main43511-39015i199308-199807
43502DBOLT, HUB (FOR FRONT AXLE LH)
main90942-02049×6i199208
43502FSEAL, OIL (FOR FRONT AXLE HUB LH)
main90311-50005i199208
main90311-66001i199208-199508
INNER
main90311-66003i199508
INNER
main90313-92001i199508
OUTER
main90313-93002i199208-199508
OUTER
main90313-98002i199408
W(*66),OUTER
43502HNUT (FOR FRONT AXLE SHAFT LH)
main90170-19185i199208
43502LWASHER, CLAW (FOR FRONT AXLE HUB LH)
main90214-20007i199208
main90214-42030i199208
43502MBEARING (FOR FRONT AXLE HUB INNER LH)
main90080-36049i199308
main90080-36064i199208-199308
TIMKEN
main90368-34019i199208-199308
main90368-49084i199208-199308
KOYO
43502NBEARING (FOR FRONT AXLE HUB OUTER LH)
main90080-36052i199308
main90080-36067i199308
TIMKEN
main90368-22002i199208-199308
main90368-45087i199208-199308
43512DISC, FRONT
main43512-34030×2i199208
main43512-34040×2i199208
main43512-35200×2i199208
43514BCAP, FRONT AXLE HUB GREASE, RH
main43423-35010i199208
main43514-34010i199208
43514CCAP, FRONT AXLE HUB GREASE, LH
main43423-35010i199208
main43514-34010i199208
43525BCAP, FRONT WHEEL ADJUSTING LOCK, RH
main43525-22010i199208
43525CCAP, FRONT WHEEL ADJUSTING LOCK, LH
main43525-22010i199208
9011910396
9538104028

21 parts on this diagram · 2 diagrams in section

FRONT AXLE HUB — Toyota Parts Diagram with OEM Numbers & Prices | EPC Data