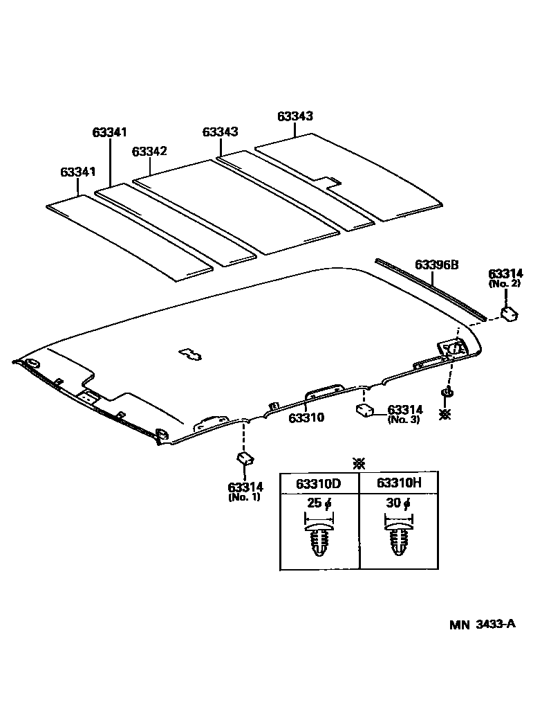
ROOF HEADLINING & SILENCER PAD

63310HEADLINING ASSY, ROOF
IVORY,TRIM4#
W(MOON ROOF),IVORY,TRIM4#
63310DCLIP, ROOF HEADLINING
IVORY,TRIM4#
63310HCLIP(FOR ROOF HEADLINING)
IVORY,TRIM4#
63314WELT, ROOF HEADLINING
NO.1
NO.2
NO.3
63341PAD, ROOF SILENCER, NO.1
63342PAD, ROOF SILENCER, NO.2
63343PAD, ROOF SILENCER, NO.3
200X1100
410X1100
63396BTRIM, ROOF HEADLINING, REAR CENTER
IVORY,TRIM4#
8 parts on this diagram · 2 diagrams in section