E
EPC Data

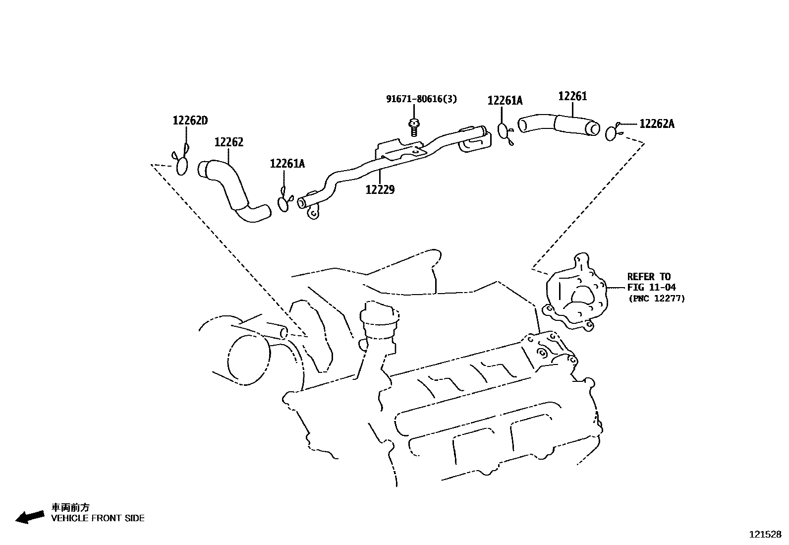
VENTILATION HOSE

Parts diagram
1104CYLINDER HEAD
12229PIPE, VENTILATION
main12229-52010i202411
12261HOSE, VENTILATION
main12261-52030i202112-202411
main12261-70130i202411
12261ACLIP OR CLAMP(FOR VENTILATION HOSE)
main90466-16004×2i202411
main90466-22005×2i202411
12262HOSE, VENTILATION, NO.2
main12262-52030i202112-202411
main12262-70090i202411
NO.1,NO.2
12262ACLIP(FOR VENTILATION HOSE NO.2)
main90467-19003i202411
main90467-21004×2i202112-202411
NO.2
main90467-21152×2i202112-202411
NO.1
12262DCLIP(FOR VENTILATION HOSE NO.2)
main90467-24038i202411
9167180616

8 parts on this diagram · 2 diagrams in section

VENTILATION HOSE — Toyota Parts Diagram with OEM Numbers & Prices | EPC Data