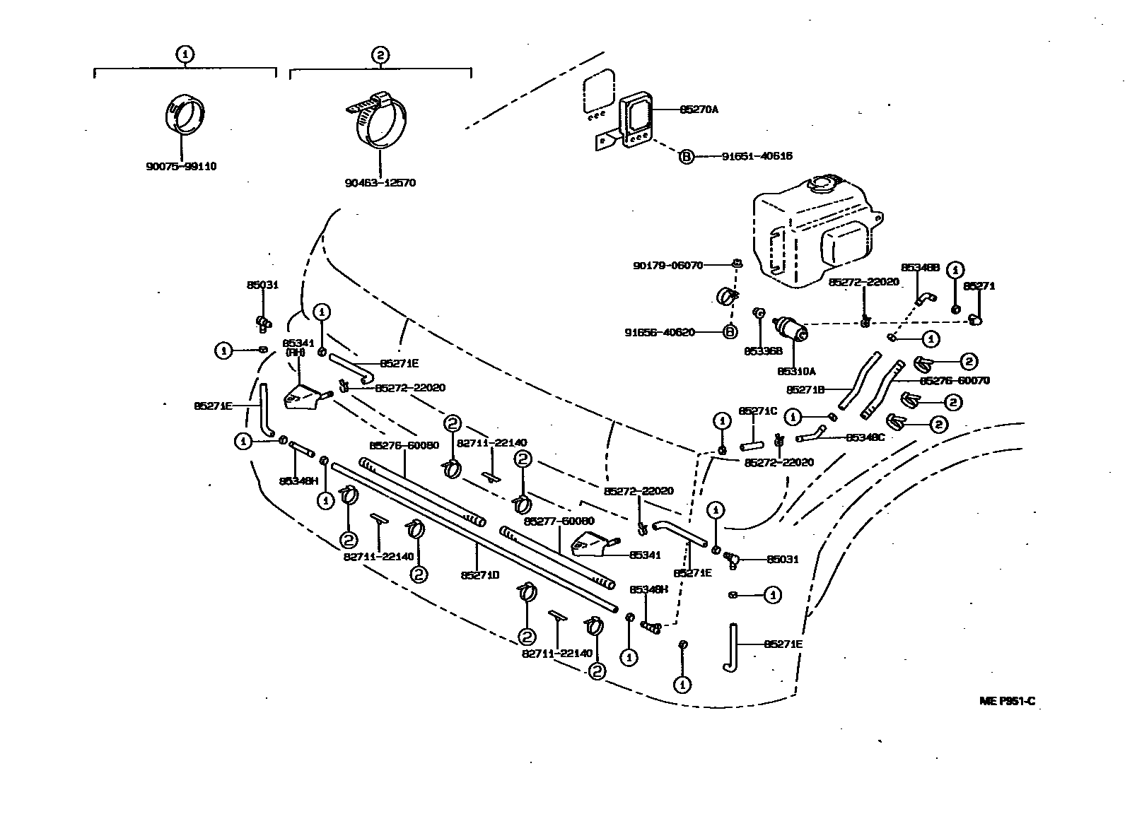
HEADLAMP CLEANER

85031VALVE, HEADLAMP CLEANER WASHER HOSE
85270ARELAY ASSY, HEADLAMP CLEANER
85271HOSE, HEADLAMP CLEANER, NO.1
L=60
85271BHOSE, HEADLAMP CLEANER, NO.3
L=640
85271CHOSE, HEADLAMP CLEANER, NO.4
L=60
85271DHOSE, HEADLAMP CLEANER, NO.5
L=1350
L=1400
85271EHOSE, HEADLAMP CLEANER, NO.6
85310AMOTOR AND PUMP ASSY, HEADLAMP CLEANER WASHER
85336BPACKING, HEADLAMP CLEANER WASHER
85341NOZZLE, HEADLAMP CLEANER WASHER
RH
LH
85348BJOINT, HEADLAMP CLEANER HOSE, NO.2
85348CJOINT, HEADLAMP CLEANER HOSE, NO.3
85348HJOINT, HEADLAMP CLEANER HOSE, NO.4
2WAY
3 WAY; 3WAY
2 WAY
8271122140WIRE, FUSE TO FUSE(FOR COMBUSTION HEATER)
main82711-22140
8527222020CABLE SUB-ASSY, HEADLAMP CLEANER, RH
main85272-22020
8527660070RELAY, CLEANER CONTROL
main85276-60070
8527660080RELAY, CLEANER CONTROL
main85276-60080
8527760080HOSE, HEADLAMP CLEANER, C
main85277-60080
9007599110
main90075-99110
9017906070
main90179-06070
9046312570
main90463-12570
9165140616
main91651-40616
9165640620
main91656-40620
23 parts on this diagram · 2 diagrams in section