E
EPC Data

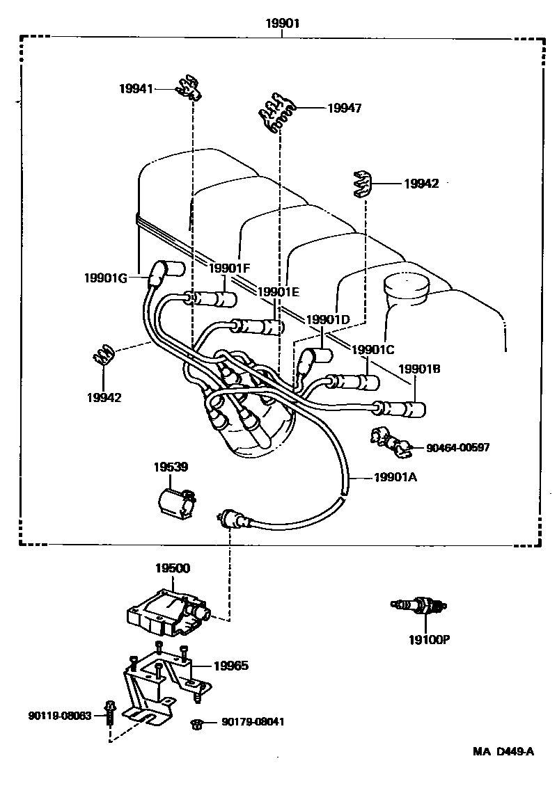
IGNITION COIL & SPARK PLUG / GLOW PLUG

Parts diagram
19100PPLUG, SPARK
main90919-01091×6i199001-199208
W16EXR-U11
main90919-01176×6i199208-199801
K16R-U
19500COIL ASSY, IGNITION
main19080-66010i199208-199801
main90919-02185i199001-199208
19539HOLDER, RESISTIVE CODE, NO.4
main19539-46010×2i199208-199801
MARK A
main19539-50010i199208-199801
MARK C
main19539-65010i199001-199208
19901CORD SET, COIL & SPARK, W/RESISTIVE
main90919-21503i199001-199208
main90919-21557i199208-199801
19901ACORD, COIL RESISTIVE
main90919-13359i199001-199208
main90919-13436i199208-199801
19901BCORD, SPARK PLUG RESISTIVE, NO.1
main90919-12951i199001-199208
main90919-15362i199208-199801
19901CCORD, SPARK PLUG RESISTIVE, NO.2
main90919-12952i199001-199208
main90919-15363i199208-199801
19901DCORD, SPARK PLUG RESISTIVE, NO.3
main90919-12949i199001-199208
main90919-15364i199208-199801
19901ECORD, SPARK PLUG RESISTIVE, NO.4
main90919-12953i199001-199208
main90919-15365i199208-199801
19901FCORD, SPARK PLUG RESISTIVE, NO.5
main90919-12954i199001-199208
main90919-15366i199208-199801
19901GCORD, SPARK PLUG RESISTIVE, NO.6
main90919-12950i199001-199208
main90919-15367i199208-199801
19941CLAMP, RESISTIVE CORD, NO.1
main19941-66010i199208-199801
main90464-00105i199001-199208
19942CLAMP, RESISTIVE CORD, NO.2
main19942-66010i199208-199801
main90464-00208×2i199001-199208
19947CLAMP, RESISTIVE CORD, NO.4
main19947-66010i199208-199801
main90929-01192i199001-199208
19965BAND, IGNITION COIL, NO.1
main90919-03118i199001-199208
9011908063
9017908041
9046400597

18 parts on this diagram · 2 diagrams in section

IGNITION COIL & SPARK PLUG / GLOW PLUG — Toyota Parts Diagram with OEM Numbers & Prices | EPC Data