HEATING & AIR CONDITIONING - CONTROL & AIR DUCT

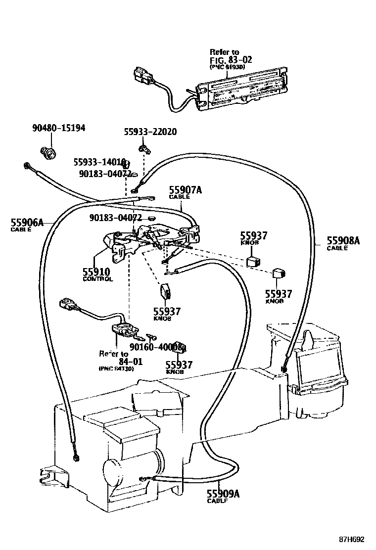
55906ACABLE SUB-ASSY, DEFROSTER DAMPER CONTROL
55907ACABLE SUB-ASSY, WATER VALVE CONTROL
55908ACABLE SUB-ASSY, AIR INLET DAMPER CONTROL
55909ACABLE SUB-ASSY, AIRMIX DAMPER CONTROL
55910CONTROL ASSY, HEATER OR BOOST VENTILATOR
55937KNOB, HEATER CONTROL LEVER
8302INDICATOR
8401SWITCH & RELAY & COMPUTER
5593314010GUIDE, LEVER, NO.2
main55933-14010
5593322020GUIDE, LEVER, NO.2
main55933-22020
9016040008
main90160-40008
9018304072
main90183-04072
9048015194
main90480-15194
13 parts on this diagram · 2 diagrams in section