E
EPC Data

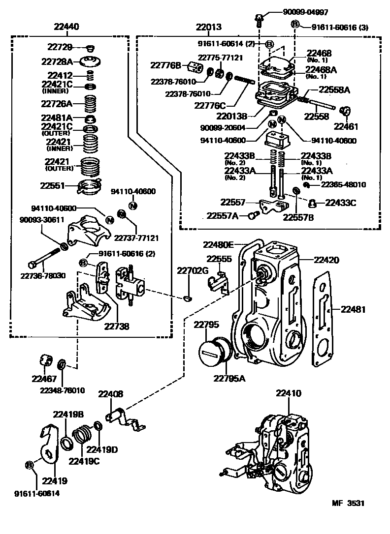
MECHANICAL GOVERNOR

Parts diagram
22013HOUSING SUB-ASSY, FULLROAD STOPPER
main22013-68110i198510-198708
22013BRING, O(FOR FULLROAD STOPPER HOUSING)
main90099-14039i198510-198708
22408ARM, STOPPER
main22408-68110i198510-198708
22410GOVERNOR ASSY, INJECTION PUMP MECHANICAL
main22410-68110i198510-198708
22412SPRING, MECHANICAL GOVERNOR
main22412-78030×2i198510-198708
22419LEVER, STOP
main22419-58230i198510-198708
22419BWASHER, PLATE(FOR STOPPER LEVER)
main90099-01521i198510-198708
T=0.50,T=0.5
main90099-02315i198510-198708
T=0.10,T=0.1
main90099-02316i198510-198708
T=0.05,T=0.2
22419CSPRING, RETURN(FOR STOPPER LEVER)
main22432-68110i198510-198708
22419DRING, O(FOR STOPPER LEVER)
main90099-14005i198510-198708
22420HOUSING SUB-ASSY, MECHANICAL GOVERNOR
main22017-68110i198510-198708
22421SPRING, IDLING
main22768-68110×2i198510-198708
INNER
main22768-78031×2i198510-198708
OUTER
22421CWASHER, IDLING SPRING
main22737-78030×2i198510-198708
T=0.20,OUTER,T=0.2
main22737-78031×2i198510-198708
T=0.40,OUTER,T=0.4
main22737-78032×2i198510-198708
T=0.60,OUTER,T=0.6
main22737-78033×2i198510-198708
T=0.40,INNER,T=0.4
main22737-78034×2i198510-198708
T=0.60,INNER,T=0.6
main22737-78035×2i198510-198708
T=0.50,OUTER,T=0.5
main22737-78036×2i198510-198708
T=0.55,INNER,T=0.55
22433ASCREW, ADAPTER(FOR SLIDING BLOCK)
main22433-78031i198510-198708
NO.1
main22433-78032i198510-198708
NO.2
22433BSPRING(FOR ADAPTER SCREW)
main22411-78030i198510-198708
NO.1
main22411-78032i198510-198708
NO.2
22433CBUSH(FOR ADAPTER SCREW)
main22554-78030i198510-198708
22440FLYWEIGHT SUB-ASSY
main22720-68110i198510-198708
22461PLUG, SCREW
main22129-78030i198510-198708
FULL ROAD STOPPER HOUSING
main22446-78030×2i198510-198708
GOVERNOR COVER
22467NUT, ROUND
main22451-77123i198510-198708
22468COVER, PLATE
main22458-78030i198510-198708
NO.2
main22458-78031i198510-198708
NO.1
22468AO, RING
main90099-14068i198510-198708
NO.1
main90099-14069i198510-198708
NO.2
22480EGASKET, GOVERNOR COVER
main22774-78030i198510-198708
22481GASKET
main22442-78030i198510-198708
22481ASEAT, SPRING, INNER
main22481-58230×2i198510-198708
22551SEAT, SPRING(FOR FLYWEIGHT)
main22551-78030×2i198510-198708
22555BRACKET, STOPPER
main22555-68110i198510-198708
22557CAM, FULL STOP
main22557-68110i198510-198708
22557APIN, CONNECTING(FOR FULL STOP CAM)
main22423-78030i198510-198708
22557BWASHER, PLATE(FOR CONNECTING PIN)
main90093-30610i198510-198708
T=0.20,T=0.20
main90099-01334i198510-198708
T=0.05,T=0.05
main90099-01505i198510-198708
T=0.10,T=0.10
22558SHAFT, SLIDING BLOCK
main22558-78030i198510-198708
22558ASPRING(FOR SLIDING BLOCK SHAFT)
main22411-78031i198510-198708
22702LEVER ASSY, FLOATING
main22702-78030i198510-198708
22702GKEY, WOODRUFF(FOR FROATING LEVER)
main90099-13002i198510-198708
22726ASPRING, SPEED CONTROL
main22726-58230×2i198510-198708
22728AGUIDE, SPRING
main22728-78030×2i198510-198708
22729NUT, ADJUSTING(FOR FLYWEIGHT)
main22729-78030×2i198510-198708
22738BUSHING, GUIDE(FOR FLYWEIGHT)
main22738-78030i198510-198708
22776BNUT, CAP(FOR SCREW STOPPER)
main22437-58230i198510-198708
22776CSCREW, STOPPER
main22776-78034i198510-198708
22795PLUG, SCREW
main22795-77121i198510-198708
22795AWASHER, SCREW PLUG
main22561-78030i198510-198708
2234876010BUSH, GEAR SHAFT
2236548010RING, E(FOR INJECTION PUMP LEVER)
2237876010WASHER, DRAIN SCREW
2273678030BOLT, BELLCRANK
2273777121
2277577121NUT, LOCK(FOR INJECTION PUMP)
9009330611
9009904997
9009920604
9161160614
9161160616
9411040600

52 parts on this diagram · 2 diagrams in section

MECHANICAL GOVERNOR — Toyota Parts Diagram with OEM Numbers & Prices | EPC Data