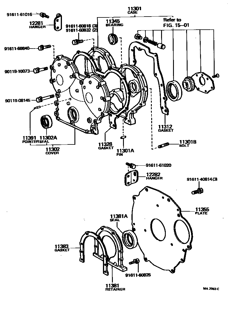
TIMING GEAR COVER & REAR END PLATE

11301CASE SUB-ASSY, TIMING GEAR
11301APIN, STRAIGHT(FOR TIMING GEAR CASE)
L=18,OD=8,L=18,OD=8
11301BBOLT,STUD(FOR TIMING GEAR CASE)
L=40,S=12&19
11302COVER SUB-ASSY, TIMING CHAIN OR BELT
11302ASEAL, OIL(FOR TIMING CHAIN OR BELT COVER)
TC3 45 68 12
TC45 68 12X3
11312GASKET, FRONT END PLATE
11328GASKET, TIMING GEAR OR CHAIN COVER
11345BEARING, INJECTION PUMP GEAR THRUST
11381RETAINER, ENGINE REAR OIL SEAL
11381ASEAL, ENGINE REAR OIL
11383GASKET, ENGINE REAR OIL SEAL RETAINER
12281HANGER, ENGINE, NO.1
FOR POWER STEERING
12282HANGER, ENGINE, NO.2
1501ENGINE OIL PUMP
9011908145
main90119-08145
9011910073
main90119-10073
9161140814
main91611-40814
9161160818
main91611-60818
9161160825
main91611-60825
9161160832
main91611-60832
9161160840
main91611-60840
9161161016
main91611-61016
9161161020
main91611-61020
25 parts on this diagram · 3 diagrams in section