E
EPC Data

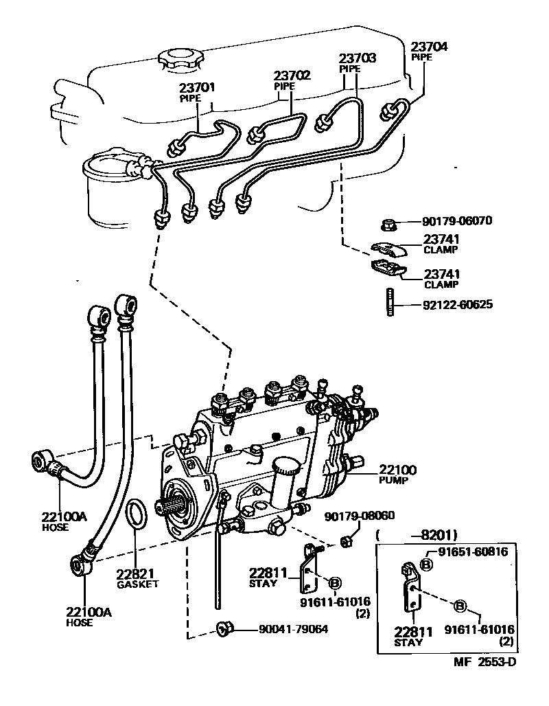
INJECTION PUMP ASSEMBLY

Parts diagram
22100PUMP ASSY, INJECTION OR SUPPLY
main22100-58030i198008-198201
main22100-58031i198201-198410
22100AHOSE OR PIPE, FUEL(FOR INJECTION PUMP TO FUEL FILTER)
main23801-56040i198008-198408
FEED PUMP TO FILTER
main23801-56060i198408-198410
PIPE L=300,FEED PUMP TO FILTER
main23802-56040i198008-198410
HOSE L=210,FILTER TO INJECTION PUMP
22811STAY, INJECTION PUMP, NO.1
main22811-56010i198008-198201
main22811-56011i198201-198410
22821GASKET, INJECTION PUMP
main90301-77001i198008-198410
23701PIPE SUB-ASSY, INJECTION, NO.1
main23701-56030i198008-198410
23702PIPE SUB-ASSY, INJECTION, NO.2
main23702-56030i198008-198410
23703PIPE SUB-ASSY, INJECTION, NO.3
main23703-56020i198008-198410
23704PIPE SUB-ASSY, INJECTION, NO.4
main23704-56020i198008-198410
23741CLAMP, INJECTION PIPE, NO.1
main23741-56010×4i198008-198410
9004179064
9017906070
9017908060
9161161016
9165160816
9212260625

15 parts on this diagram · 1 diagram in section

INJECTION PUMP ASSEMBLY — Toyota Parts Diagram with OEM Numbers & Prices | EPC Data