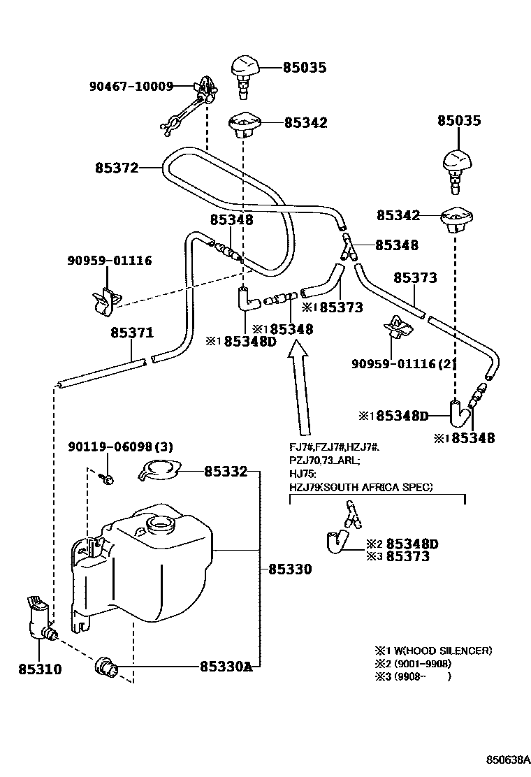
WINDSHIELD WASHER

85035NOZZLE SUB-ASSY, WASHER
85310MOTOR AND PUMP ASSY, WINDSHIELD WASHER
BANGLADESH SPEC
85330JAR ASSY, WINDSHIELD WASHER
W(HOT AIR INTAKE)
W(SCHNOKEL TYPE AIR CLEANER)
main85315-60230iFZJ75..CBU;FZJ75..LHD..IV;FZJ75..ARL..IV;FZJ73,HZJ70..GCC,GEN;FZJ70,HZJ75..(HT,PIC)..(CBR,DSL)199305-199908
W(PRE CLEANER)
85330ABUSH, WINDSHIELD WASHER JAR
85332CAP, WINDSHIELD WASHER JAR
W(SCHNOKEL TYPE AIR CLEANER)
W(PRE CLEANER)
W(HOT AIR INTAKE)
main85332-22470iHZJ75..LHD..HT;FZJ7#..ARL,GCC,GEN;PZJ70,75..LHD..4F..CBU; PZJ70..5F;PZJ75..4F..IV;HZJ75..LHD..PIC;HZJ7#,PZJ7#..RHD..(ARL,GEN)199305-199310
W(SCHNOKEL TYPE AIR CLEANER)
W(PRE CLEANER)
85342HOLDER, WASHER NOZZLE
85348JOINT, WINDSHIELD WASHER HOSE, NO.1
main85348-12250iFZJ71,78..GCC;HZJ79..GCC,GEN;FZJ71,78..RHD..GEN;FZJ74,79,HZJ71,78..(GCC,GEN)..CBU; HDJ7#,HZJ78,79..ARL200108-200701
3-WAY; W(HOOD SILENCER),3-WAY
2-WAY
85348DJOINT, WINDSHIELD WASHER ELBOW, NO.1
85371HOSE, WINDSHIELD WASHER (FROM MOTOR TO JOINT)
L=2000(*H,L=1150)
L=1000(*H,L=360)
85372HOSE, WINDSHIELD WASHER (FROM JOINT TO JOINT), NO.1
L=1000(*H,L=610)
85373HOSE, WINDSHIELD WASHER (FROM JOINT TO NOZZLE)
L=680
L=1450(*H,L=40)
L=1000(*H,L=670)
L=1000(*H,L=680),W(HOOD SILENCER)
9011906098
main90119-06098
9046710009
main90467-10009
9095901116
main90959-01116
14 parts on this diagram · 3 diagrams in section