E
EPC Data

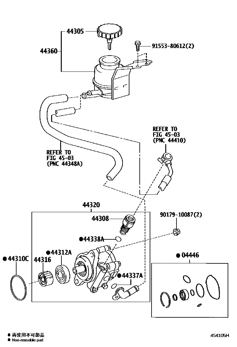
VANE PUMP & RESERVOIR (POWER STEERING)

Parts diagram
04446GASKET KIT, POWER STEERING PUMP
main04446-32050i200501-201402
main04446-35070i200501-201402
main04446-53030i200501-201312
44305CAP SUB-ASSY, VANE PUMP OIL RESERVOIR
main44305-22040i200501-200801
main44305-22060i200802-201204
main44305-22061i201205-201402
main44305-28020i200501-200802
main44305-28050i200803-201204
main44305-28051i201205-201402
44308UNION SUB-ASSY, PRESSURE PORT
main44308-26120i200501-201402
main44308-42010i200501-201402
main44308-44020i200501-201312
44310CRING, O(FOR VANE PUMP)
main90301-60002i200501
44312ABEARING(FOR VANE PUMP SHAFT)
main90363-17016i200501
44316GEAR, VANE PUMP
main44316-60030i200501
44320PUMP ASSY, VANE
main44310-26370i200501-201204
main44310-26371i201205-201402
main44310-26380i200501-201402
main44320-26290i200501-201312
44337ARING, O(FOR POWER STEERING SUCTION PORT)
main90301-11020i200501-201402
44338ARING, O(FOR PRESSURE PORT UNION)
main90301-18009i200501-201402
OD=22,ID=18.6
44360RESERVOIR ASSY, VANE PUMP OIL
main44306-25060i200501-201402
main44360-26140i200501-201204
main44360-26141i201205-201402
4503POWER STEERING TUBE
9017910087
9155380612

13 parts on this diagram · 3 diagrams in section

VANE PUMP & RESERVOIR (POWER STEERING) — Toyota Parts Diagram with OEM Numbers & Prices | EPC Data