E
EPC Data

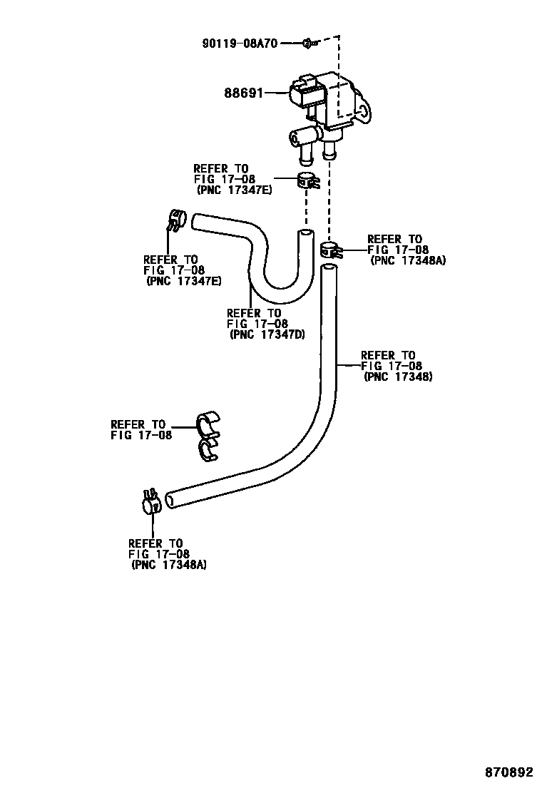
HEATING & AIR CONDITIONING - VACUUM PIPING

Parts diagram
1708VACUUM PIPING
88691VALVE, MAGNET (FOR IDLE UP DEVICE)
main90910-13003i199501-199509
9011908A70

3 parts on this diagram · 1 diagram in section

HEATING & AIR CONDITIONING - VACUUM PIPING — Toyota Parts Diagram with OEM Numbers & Prices | EPC Data