E
EPC Data

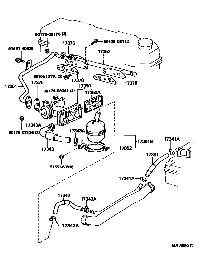
MANIFOLD AIR INJECTION SYSTEM

Parts diagram
17301BSILENCER SUB-ASSY, AIR SUCTION
main17301-35050i199202-199501
17341HOSE, NO.1(FOR AIR INJECTION SYSTEM)
main17341-35150i199202-199501
main17341-65040i199202-199501
17341ACLAMP OR CLIP, NO.1(FOR AIR INJECTION SYSTEM HOSE, NO.1)
main90467-23003i199202-199501
main90467-26005i199202-199501
17342HOSE, NO.2(FOR AIR INJECTION SYSTEM)
main17342-35130i199202-199501
17342ACLAMP OR CLIP, NO.2(FOR AIR INJECTION SYSTEM HOSE, NO.2)
main90467-26005i199202-199501
17343HOSE, NO.3(FOR AIR INJECTION SYSTEM)
main17343-35070i199202-199501
17343ACLAMP OR CLIP, NO.3(FOR AIR INJECTION SYSTEM HOSE, NO.3)
main90467-26005i199202-199501
17350VALVE ASSY, REED
main17350-35050i199202-199501
main17350-65010i199202-199208
main17350-65011i199208-199501
17350AVALVE SUB-ASSY, REED
main17305-35030i199202-199501
17351MANIFOLD, AIR INJECTION
main17306-65010i199202-199501
main17351-35050i199202-199501
17352MANIFOLD, AIR INJECTION, NO.2
main17352-35080i199202-199501
17376GASKET, AIR TUBE, NO.1
main17376-35030i199202-199501
main25628-65010i199202-199501
17378GASKET AIR TUBE, NO.3
main17378-35020i199202-199501
17802BRACKET SUB-ASSY, RESONATOR
main17802-35011i199202-199501
9010508112
9010510116
9017908061
9017908126
9165140825
9165160818

20 parts on this diagram · 2 diagrams in section

MANIFOLD AIR INJECTION SYSTEM — Toyota Parts Diagram with OEM Numbers & Prices | EPC Data