E
EPC Data
Pricing
Sign In
Home
›
US
›
6733B0
›
REAR BODY MOUNTING
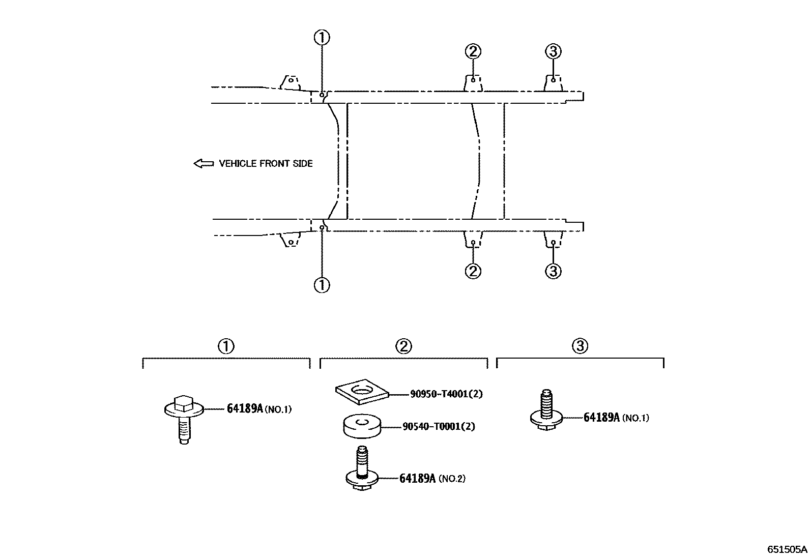
REAR BODY MOUNTING
64189A
BOLT, REAR BODY MOUNTING
main
64189-0K010
i
GGN125,GUN12#,13#,TGN120,121,126,136..THP..CBU
202108-202303
NO.1
main
64189-0K020
i
GUN126..PKN
202108-202303
NO.2
90540T0001
main
90540-T0001
90950T4001
main
90950-T4001
3 parts on this diagram · 1 diagram in section
REAR BODY MOUNTING — Toyota Parts Diagram with OEM Numbers & Prices | EPC Data