BATTERY & BATTERY CABLE

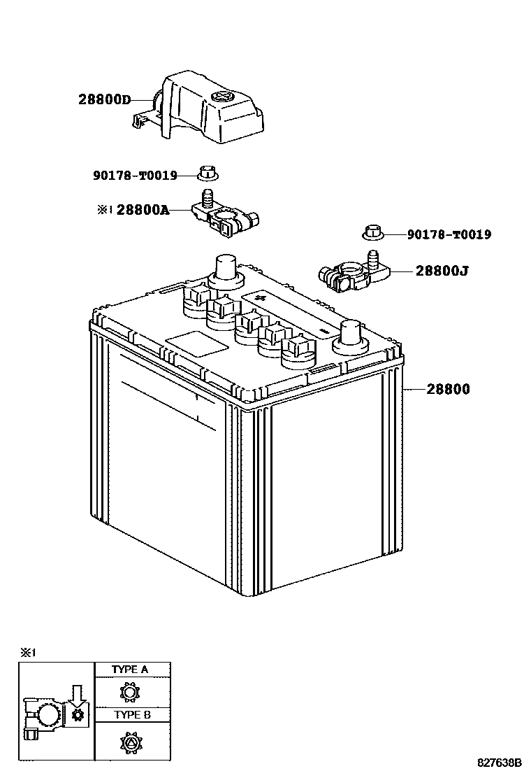
28800BATTERY
55D26L
55D26L
34B19L(S)
34B19L(S)
55D23L,YUASA
55D23L,FURUKAWA
55D23L,FURUKAWA
80D26L
80D26L
main28800-0L010i2KDFTV..KUN35..5F..(GEN,PHL,TH);1GRFE,2KDFTV..GGN15,25,KUN10,15,25..(5F,5FC)..(ARL,GCC,GEN,IDN,PHL,TH)201107-201504
80D26L,GS
main28800-0L030i2KDFTV..KUN25,35..(4FC,5FC)..(GEN,IDN,PHL,TH);1KDFTV..KUN16,26,36..(DCB,SCB,SMT,THDCB,XTR)..(ARL,GEN,PHL,TH)201107-201504
105D31L,GS
105D31L
105D31L
main28800-0L120i2KDFTV..KUN35..5F..(GEN,PHL,TH);1GRFE,2KDFTV..GGN15,25,KUN10,15,25..(5F,5FC)..(ARL,GCC,GEN,IDN,PHL,TH)201107-201504
80D26L,YUASA
main28800-0L150i2KDFTV..KUN25,35..(4FC,5FC)..(GEN,IDN,TH);1KDFTV..KUN16,26,36..(DCB,SCB,SMT,THDCB,XTR)..(ARL,GEN,PHL,TH)201107-201212
105D31L,FURUKAWA
main28800-0L151i2KDFTV..KUN25,35..(4FC,5FC)..(GEN,IDN,PHL,TH);1KDFTV..KUN16,26,36..(DCB,SCB,SMT,THDCB,XTR)..(ARL,GEN,PHL,TH)201301-201504
105D31L,FURUKAWA
80D26L
main28800-0L360i2KDFTV..KUN35..5F..(GEN,PHL,TH);1GRFE,2KDFTV..GGN15,25,KUN10,15,25..(5F,5FC)..(ARL,GCC,GEN,IDN,PHL,TH)201107-201504
80D26L,PANASONIC
80D26L
80D26R,KAZAKHSTAN SPEC,GS
80D26R,KAZAKHSTAN SPEC,PANASONIC
28800ATERMINAL, BATTERY POSITIVE
TYPE A:REFER ILLUST.
TYPE B:REFER ILLUST.
28800DCOVER, CONNECTOR(FOR BATTERY TERMINAL)
main82821-0K030i1TRFE,2TRFE..TGN1#,26..GCC,IDN;2KDFTV..KUN25,35..(4FC,5FC)..(GEN,IDN,MA,PHL,PKN,TH); 2KDFTV..KUN15,25..5F..PKN201107-201609
P/N LABEL=828210K030
main82821-0K070i1TRFE,2TRFE..TGN1#,26..GCC,IDN;2KDFTV..KUN25,35..(4FC,5FC)..(GEN,IDN,MA,PHL,PKN,TH)201107-201601
P/N LABEL=828210K070
28800JTERMINAL, BATTERY NEGATIVE
90178T0019
main90178-T0019
5 parts on this diagram · 2 diagrams in section