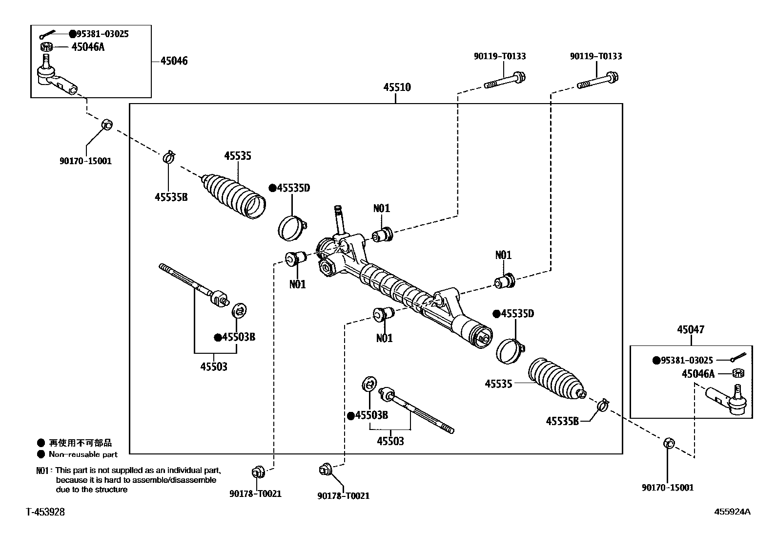
FRONT STEERING GEAR & LINK

45046END SUB-ASSY, TIE ROD, RH
main45046-09251supersedes 45046-09320iKUN15..SCB..TH; KUN16..4FC,5F;KUN15..SCB..(GCC,GEN,PHL);GGN15,KUN10,TGN1#..ARL,GCC,GEN,IDN,TH;KUN15..(DCB,SMT,XTR)..(GCC,GEN,PHL,TH)201107-201504
STEERING-POWER STEERING
45046ANUT, CASTLE(FOR TIE ROD END)
main90171-T0002×2iGGN25,35,KUN2#,3#,LAN25,35,TGN26,36..ANCOM,ARL,CO,GCC,GEN,IDN,LA,MA,PHL,SA,TH201107
45047END SUB-ASSY, TIE ROD, LH
main45046-09251supersedes 45046-09320iKUN15..SCB..TH; KUN16..4FC,5F;KUN15..SCB..(GCC,GEN,PHL);GGN15,KUN10,TGN1#..ARL,GCC,GEN,IDN,TH;KUN15..(DCB,SMT,XTR)..(GCC,GEN,PHL,TH)201107-201504
STEERING-POWER STEERING
45503END SUB-ASSY, STEERING RACK
main45503-09331×2iKUN26..MA;KUN35..DLX..SA;KUN26,36,TGN36..(SADCB,SCB)..(GEN,SA);KUN15,25,LAN15,25,35,TGN15,16,26..MA,PKN,SA201108-201609
45503BWASHER, CLAW(FOR STEERING RACK END)
OD=43
main90214-T0002×2iKUN26..MA;KUN35..DLX..SA;KUN26,36,TGN36..(SADCB,SCB)..(GEN,SA);KUN15,25,LAN15,25,35,TGN15,16,26..MA,PKN,SA201108
OD=43
45510GEAR ASSY, STEERING
45535BOOT, STEERING RACK, NO.1
45535BCLIP(FOR STEERING RACK BOOT)
main90466-T0005×2iKUN26..MA;KUN35..DLX..SA;KUN26,36,TGN36..(SADCB,SCB)..(GEN,SA);KUN15,25,LAN15,25,35,TGN15,16,26..MA,PKN,SA201108-201609
45535DCLAMP(FOR STEERING RACK BOOT NO.1)
90119T0133
main90119-T0133
9017015001
main90170-15001
90178T0021
main90178-T0021
9538103025
main95381-03025
13 parts on this diagram · 7 diagrams in section