E
EPC Data

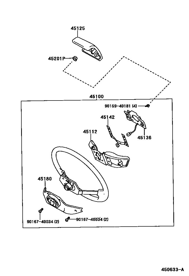
STEERING WHEEL

Parts diagram
45100WHEEL ASSY, STEERING
main45100-26290-B2i200106-200412
4-SPOKE,URETHANE,MD.GRAY,TRIM1#
main45100-35270-02i199204-199708
2SPOKE,POLYPROPYLENE,PERU SPEC,RED,TRIM3#
main45100-35270-03i198808-198901
2SPOKE,POLYPROPYLENE,GRAY,TRIM1#
main45100-35270-04i198808-198901
2SPOKE,POLYPROPYLENE,BLUE,TRIM8#
main45100-35270-06i198808-198901
2SPOKE,POLYPROPYLENE,BROWN,TRIM4#
main45100-35270-B0i199308-199503
2SPOKE,POLYPROPYLENE,MEDIUM GRAY,TRIM1#
main45100-35270-E0i198908-199108
2SPOKE,POLYPROPYLENE,BROWN,TRIM4#
main45100-35270-J0i199208-199308
2SPOKE,POLYPROPYLENE,MEDIUM BLUE,TRIM8#
main45100-35280-03i198808-198901
3-SPOKE,URETHANE,GRAY,TRIM1#
main45100-35280-04i198808-198901
3-SPOKE,URETHANE,BLUE,TRIM8#
main45100-35280-06i198808-198901
3-SPOKE,URETHANE,BROWN,TRIM4#
main45100-35280-B0i198901-198908
3-SPOKE,URETHANE,MEDIUM GRAY,TRIM1#
main45100-35280-E0i198908-199007
3-SPOKE,URETHANE,BROWN,TRIM4#
main45100-35280-J0i198908-199007
3-SPOKE,URETHANE,MEDIUM BLUE,TRIM8#
main45100-35281-02i199108-199708
3-SPOKE,URETHANE,RED,TRIM3#; 3-SPOKE,URETHANE,W(STEEL WHEEL),RED,TRIM3#
main45100-35281-B0i200106-200412
3-SPOKE,URETHANE,MEDIUM GRAY,TRIM1#
main45100-35281-E0i199008-199108
3-SPOKE,URETHANE,BROWN,TRIM4#
main45100-35281-J0i199408-199708
3-SPOKE,URETHANE,MEDIUM BLUE,TRIM8#
main45100-35290-03i198808-198906
3-SPOKE,URETHANE,W(CRUISE CONTROL),GRAY,TRIM1#
main45100-35290-04i198808-198906
3-SPOKE,URETHANE,W(CRUISE CONTROL),BLUE,TRIM8#
main45100-35290-06i198808-198906
3-SPOKE,URETHANE,W(CRUISE CONTROL),BROWN,TRIM4#
45112PAD, STEERING WHEEL
main45112-35100-03i198808-198901
GRAY,TRIM1#
main45112-35100-04i198808-198901
BLUE,TRIM8#
main45112-35100-06i198808-198901
BROWN,TRIM4#
main45112-35100-B0i200106-200412
MEDIUM GRAY,TRIM1#
main45112-35100-E0i199204-199708
PERU SPEC,2-SPOKE,BROWN,TRIM3#
main45112-35100-J0i199204-199708
PERU SPEC,2-SPOKE,MEDIUM BLUE,TRIM8#
45125MARK, STEERING WHEEL PAD
main45125-35170-03i198808-198908
GRAY,TRIM1#
main45125-35170-04i198808-198908
BLUE,TRIM8#
main45125-35170-06i198808-198908
BROWN,TRIM4#
main45125-35171-B0i199503-199801
GRAY,TRIM1#
main45125-35171-D3i199204-199708
PERU SPEC,2-SPOKE,RED,TRIM3#
main45125-35171-J0i199408-199708
BLUE,TRIM8#
main45125-35190-B0i198910-199108
VW BRAND,MEDIUM GRAY,TRIM1#
main45125-35190-E0i198910-199108
VW BRAND,BROWN,TRIM4#
main45125-35190-J0i198910-199108
VW BRAND,MEDIUM BLUE,TRIM8#
45136PLATE, HORN BUTTON CONTACT
main45136-35060i198808-198908
45142SEAT, HORN BUTTON CONTACT, NO.1
main45142-35050i199204-199708
PERU SPEC,2-SPOKE
45180COVER SUB-ASSY, STEERING WHEEL
main45180-35040-02i199108-199708
RED,TRIM3#
main45180-35040-03i198808-198901
GRAY,TRIM1#
main45180-35040-04i198808-198901
BLUE,TRIM8#
main45180-35040-06i198808-198901
BROWN,TRIM4#
main45180-35040-B0i199108-199208
MEDIUM GRAY,TRIM1#
main45180-35040-E0i198901-198908
BROWN,TRIM4#
main45180-35040-J0i199208-199408
MEDIUM BLUE,TRIM8#
main45180-35050-03i198808-198901
GRAY,TRIM1#; URETHANE,3-SPOKE,GRAY,TRIM1#
main45180-35050-04i198808-198901
BLUE,TRIM8#; URETHANE,3-SPOKE,BLUE,TRIM8#
main45180-35050-06i198808-198901
BROWN,TRIM4#; URETHANE,3-SPOKE,BROWN,TRIM4#
main45180-35050-B0i198908-199007
MEDIUM GRAY,TRIM1#; URETHANE,3-SPOKE,MEDIUM GRAY,TRIM1#
main45180-35050-E0i198901-198908
BROWN,TRIM4#; URETHANE,3-SPOKE,BROWN,TRIM4#
main45180-35050-J0i198901-198908
MEDIUM BLUE,TRIM8#; URETHANE,3-SPOKE,MEDIUM BLUE,TRIM8#
main45180-35051-02i199108-199708
3-SPOKE URETHAN STEERIG WHEEL,RED,TRIM3#; RED,TRIM3#
main45180-35051-B0i199503-199812
MEDIUM GRAY,TRIM1#
main45180-35051-E0i199007-199008
BROWN,TRIM4#; URETHANE,3-SPOKE,BROWN,TRIM4#
main45180-35051-J0i199007-199008
MEDIUM BLUE,TRIM8#; URETHANE,3-SPOKE,MEDIUM BLUE,TRIM8#
main45184-35050-03i198808-198906
URETHANE,3-SPOKE,W(CRUISE CONTROL),GRAY,TRIM1#
main45184-35050-04i198808-198906
URETHANE,3-SPOKE,W(CRUISE CONTROL),BLUE,TRIM8#
main45184-35050-06i198808-198906
URETHANE,3-SPOKE,W(CRUISE CONTROL),BROWN,TRIM4#
45201PNUT, STEERING WHEEL SET
main90179-12071i199306-199503
main90179-12086i198808-199306
9015940181
9016740034

9 parts on this diagram · 3 diagrams in section

STEERING WHEEL — Toyota Parts Diagram with OEM Numbers & Prices | EPC Data