E
EPC Data

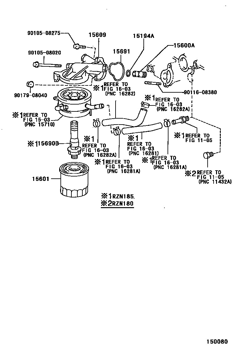
OIL FILTER

Parts diagram
1105CYLINDER BLOCK
1503ENGINE OIL COOLER
15194ARING, O
main96721-24018i199511-200008
15600AUNION(FOR OIL FILTER)
main90404-19013i199511
main90404-19017i199511-200008
15601FILTER SUB-ASSY, OIL
main90915-20001i199511-199908
main90915-20003i199908-200008
15609BRACKET SUB-ASSY, OIL FILTER
main15609-75020i199511-200008
main15609-75030i199511-200008
15690BVALVE ASSY, OIL COOLER RELIEF
main15690-50010i199511-200008
15691GASKET, OIL FILTER
main15692-75010i199511-199906
main15692-75011i199906-200008
1603RADIATOR & WATER OUTLET
9010508020
9010508275
9011608380
9017908040

13 parts on this diagram · 2 diagrams in section

OIL FILTER — Toyota Parts Diagram with OEM Numbers & Prices | EPC Data