E
EPC Data

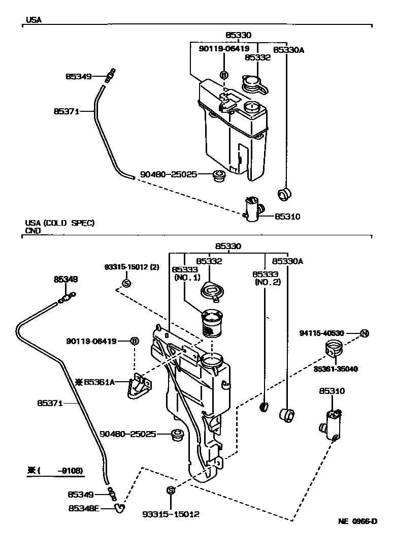
WINDSHIELD WASHER

Parts diagram
85310MOTOR AND PUMP ASSY, WINDSHIELD WASHER
main85310-14080i198808-199108
COLD SPEC
main85310-14080i199108-199501
NIPPONDENSO
main85310-14080i199108-199501
COLD SPEC,NIPPONDENSO
main85310-16050i198808-199208
main85310-95J03i199208-199511
main85330-06010i199108-199501
COLD SPEC
main85330-35050i199208-199501
main85330-50020i199108-199511
COLD SPEC
85330JAR ASSY, WINDSHIELD WASHER
main85315-04020i199108-199501
COLD SPEC
main85315-35100i199108-199501
COLD SPEC
main85315-35110i199108-199511
main85315-35120i199108-199511
COLD SPEC
main85331-89136i198808-199501
main85331-89137i198808-199108
COLD SPEC
main85331-89142i198904-199108
W(REAR WIPER)
main85331-89144i198904-199108
COLD SPEC & W(REAR WIPER)
main85331-89144i198904-199108
W(REAR WIPER)
85330ABUSH, WINDSHIELD WASHER JAR
main90099-32089i198808-199511
main90099-32103i198808-199108
COLD SPEC
85332CAP, WINDSHIELD WASHER JAR
main85332-04020i199206-199501
COLD SPEC,DELCO
main85332-04020i199206-199501
DELCO
main85332-12650i199206-199501
COLD SPEC,NIPPONDENSO
main85332-12650i199206-199511
NIPPONDENSO
main85332-12650i199108-199206
COLD SPEC
main85332-22470i198808-198811
COLD SPEC
main85332-89133i198808-199501
main85332-89134i198811-199108
COLD SPEC
main85332-89134i198904-199108
COLD SPEC OR W(REAR WIPER)
85333FILTER, WINDSHIELD WASHER JAR
main85333-03010i199206-199501
COLD SPEC,DELCO,NO.1
main85333-03010i199206-199501
DELCO,NO.1
main85333-20010i199108-199511
COLD SPEC,NIPPONDENSO,NO.1
main85333-20010i198808-199108
NO.1
main85333-20010i198808-199108
COLD SPEC,NO.1
main85333-20010i199108-199511
NIPPONDENSO,NO.1
main85333-20010i199108-199511
COLD SPEC
main85333-20020i198808-199108
COLD SPEC,NO.2
main85333-20020i198808-199108
NO.2
85348JOINT, WINDSHIELD WASHER HOSE, NO.1
main85348-12250i199303-199405
3WAY
main85348-12250i199405
3-WAY
main85348-89118i198808-199308
3-WAY
main85349-89118i198808-199308
2-WAY,NO.1
main85349-89122i198808-199308
2-WAY,NO.2
main85349-89122i199108-199405
2WAY,NO.2
main85375-89141i199108-199405
3WAY
main85375-89141i199108-199405
COLD SPEC (IRELAND),3WAY
main85375-89141i199405
3-WAY
main85376-89141i199108-199405
2WAY,NO.1
main85376-89141i199108-199405
COLD SPEC (IRELAND),2WAY,NO.1
main85376-89141i199405
2-WAY,NO.1
85348EJOINT, WINDSHIELD WASHER ELBOW, NO.2
main85355-16192i198808-199511
COLD SPEC
main85355-16192i198808-199511
85349JOINT, WINDSHIELD WASHER HOSE, NO.1
main85349-89122i198808-199108
COLD SPEC
main85349-89122i199208-199511
NIPPONDENSO
main85349-89122i199108-199208
main85349-89122i199208-199501
COLD SPEC,NIPPONDENSO
main85377-01010i199108-199204
COLD SPEC
main85377-01010i199108-199204
DELCO
main85377-04010i199204-199211
DELCO
main85377-04010i199204-199208
COLD SPEC
main85377-04010i199208-199211
COLD SPEC,DELCO
main85377-04020i199211-199501
DELCO
main85377-04020i199211-199501
COLD SPEC,DELCO
85361ABRACKET, WINDSHIELD WASHER, NO.1
main85361-89135i198808-198908
main85361-89137i198908-199108
85371HOSE, WINDSHIELD WASHER (FROM MOTOR TO JOINT)
main85374-04020i199108-199501
COLD SPEC,L=540
main85374-04020i199108-199501
L=540
main90099-33078i199308-199405
L=1450(*H,L=480)
main90099-33078i199308-199405
L=1450(*H,L=480),COLD SPEC
main90099-33080i198808-199511
L=1450
main90099-33080i198808-199511
L=1450,COLD SPEC
main90099-33080i198904-199108
L=1450,COLD SPEC & W(REAR WIPER)
main90099-33299i199108-199308
L=1000
main90099-33656i198904-199405
L=1800(*H,L=540)
main90446-06013i198808-199501
L=1000
main90446-07001i199405-199511
L=1800
8536135040HOLDER, WINDSHIELD WASHER
9011906419
9048025025
9331515012
9411540530

15 parts on this diagram · 3 diagrams in section

WINDSHIELD WASHER — Toyota Parts Diagram with OEM Numbers & Prices | EPC Data