E
EPC Data

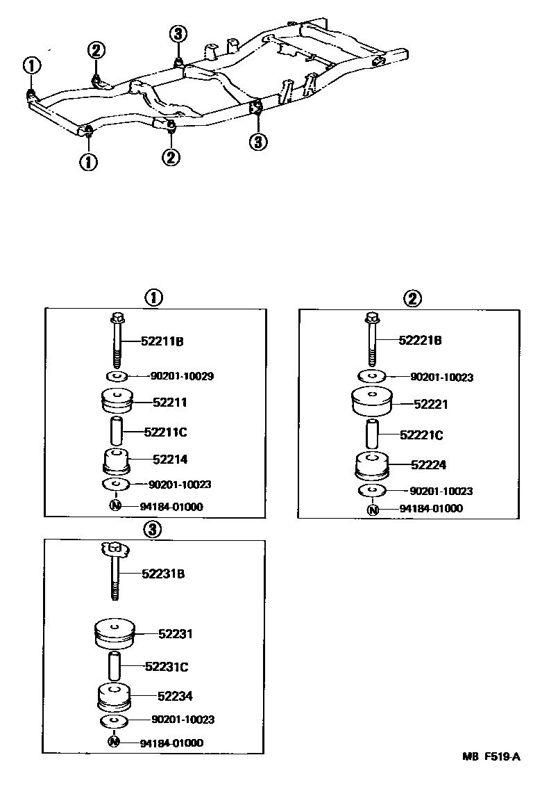
CAB MOUNTING & BODY MOUNTING

Parts diagram
52211CUSHION, BODY MOUNTING, NO.1 UPPER
main52201-35021×2i198403-198903
main52201-35030×2i198308-198808
main52201-35040×2i198308-198808
52211BBOLT(FOR BODY MOUNTING NO.1 CUSHION)
main90105-10019×2i198308-198903
52211CSPACER(FOR BODY MOUNTING NO.1 CUSHION)
main90440-16007×2i198308-198903
52214CUSHION, BODY MOUNT, NO.1 LOWER
main52202-35021×2i198403-198903
main52202-35030×2i198308-198808
main52202-35040×2i198308-198808
52221CUSHION, BODY MOUNT, NO.2 UPPER
main52203-35031×2i198308-198808
main52203-35060×2i198308-198808
main52203-35090×2i198403-198903
52221BBOLT(FOR BODY MOUNT NO.2 CUSHION)
main90105-10019×2i198308-198903
52221CSPACER(FOR BODY MOUNT NO.2 CUSHION)
main90440-16007×2i198308-198903
52224CUSHION, BODY MOUNT, NO.2 LOWER
main52204-35031×2i198308-198808
main52204-35060×2i198308-198808
main52204-35090×2i198403-198903
52231CUSHION, BODY MOUNT, NO.3 UPPER
main52203-35031×2i198308-198808
main52203-35070×2i198308-198808
main52203-35090×2i198403-198903
52231BBOLT(FOR BODY MOUNT NO.3 CUSHION)
main90109-10066×2i198308-198808
main90109-10124×2i198808-198903
52231CSPACER(FOR BODY MOUNT NO.3 CUSHION)
main90440-16007×2i198308-198903
52234CUSHION, BODY MOUNT, NO.3 LOWER
main52204-35031×2i198308-198808
main52204-35070×2i198308-198808
main52204-35090×2i198403-198903
9020110023
9020110029
9418401000

15 parts on this diagram · 2 diagrams in section

CAB MOUNTING & BODY MOUNTING — Toyota Parts Diagram with OEM Numbers & Prices | EPC Data