E
EPC Data

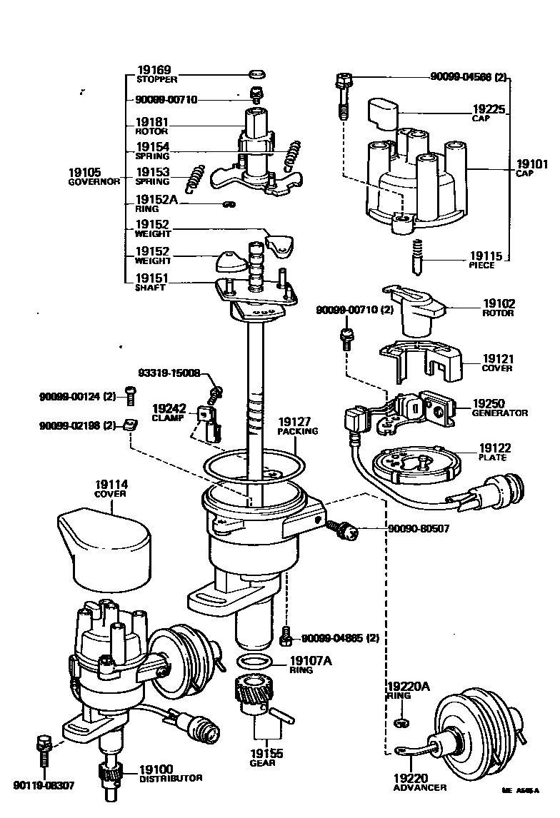
DISTRIBUTOR

Parts diagram
19100DISTRIBUTOR ASSY
main19100-35120i198308-198408
main19100-35130i198308-198408
main19100-35140i198408-198708
main19100-35150i198508-198601
CALIFORNIA SPEC
main19100-35180i198408-198903
main19100-65010i198711-198903
19101CAP SUB-ASSY, DISTRIBUTOR
main19101-35120i198408-198808
main19101-35180i198808-198903
main19101-35190i198408-198808
main19101-65010i198711-198903
19102ROTOR SUB-ASSY, DISTRIBUTOR
main19102-16060i198408-198601
main19102-38210i198308-198408
main19102-61240i198711-198903
main19102-73021i198601-198903
19105GOVERNOR SUB-ASSY
main19105-35120i198308-198408
main19105-35130i198308-198408
19107ARING, O, DISTRIBUTOR HOUSING
main90099-14020i198308-198903
main96711-35030i198711-198903
19114COVER, WATER PROOF(FOR DISTRIBUTOR)
main19114-35011i198308-198903
COLD SPEC
main19114-65010i198711-198903
COLD SPEC
19115PIECE, DISTRIBUTOR CAP, CENTER
main19115-50010i198308-198903
19121COVER, DUST PROOF
main19121-38210i198308-198408
19122PLATE, STATIONARY, DISTRIBUTOR
main19122-88262i198308-198408
19127PACKING, DUST PROOF
main19127-15021i198308-198903
main19127-65010i198711-198903
19151SHAFT, GOVERNOR
main19151-37081i198308-198408
19152WEIGHT, GOVERNOR
main19152-35030×2i198308-198408
main19152-63010×2i198408-198808
19152ARING, SNAP(FOR GOVERNOR WEIGHT)
main90099-07109×2i198308-198408
main90099-07122×2i198408-198808
19153SPRING, GOVERNOR, A
main19153-35120i198308-198408
main19153-35130i198308-198408
main19153-35140i198408-198808
19154SPRING, GOVERNOR, B
main19154-35120i198308-198408
main19154-35130i198308-198408
main19154-35140i198408-198808
19155GEAR, SPIRAL, DISTRIBUTOR
main19195-38210i198308-198408
19169STOPPER, CAM GREASE
main19169-32010i198408-198608
main19169-63011i198608-198808
19181ROTOR, DISTRIBUTOR, SIGNAL
main19181-35140i198408-198808
main19181-44230i198308-198408
19220ADVANCER ASSY, VACUUM, DISTRIBUTOR
main19220-35120i198308-198408
main19220-35140i198408-198708
main19220-35150i198608-198708
CALIFORNIA SPEC
19220ARING, SNAP(FOR DISTRIBUTOR VACUUM ADVANCER)
main90099-07109i198308-198408
19225CAP, RUBBER
main19225-35190i198408-198903
main19225-41140i198308-198408
19242CLAMP, CORD
main19242-37080i198308-198408
main19242-63020i198408-198903
19250GENERATOR ASSY, SIGNAL
main19250-37080i198308-198408
9009080507
9009900124
9009900710
9009902198
9009904566
9009904865
9011908307
9331915008

31 parts on this diagram · 4 diagrams in section

DISTRIBUTOR — Toyota Parts Diagram with OEM Numbers & Prices | EPC Data