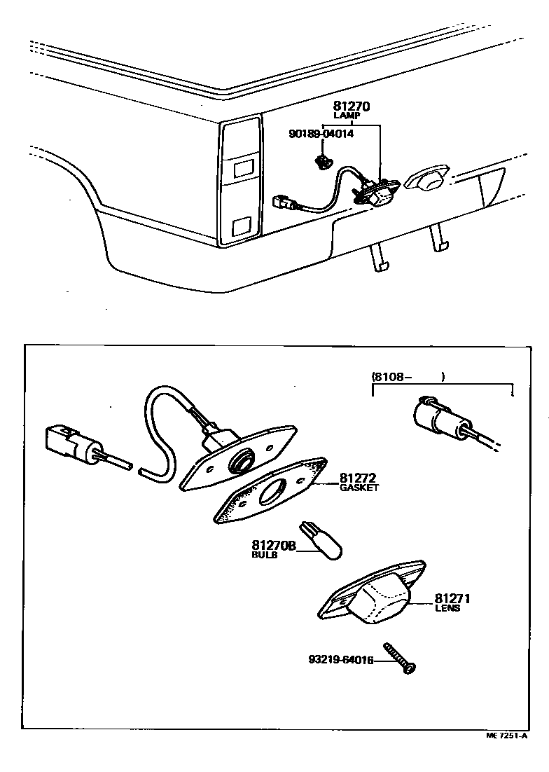
REAR LICENSE PLATE LAMP

81270LAMP ASSY, LICENSE PLATE
81270BBULB (FOR LICENSE PLATE LAMP)
12V 3.8W,12V 3.8W
81271LENS, LICENSE PLATE LAMP
81272GASKET, LICENSE PLATE LAMP LENS
9018904014
main90189-04014
9321964016
main93219-64016
6 parts on this diagram · 1 diagram in section