E
EPC Data

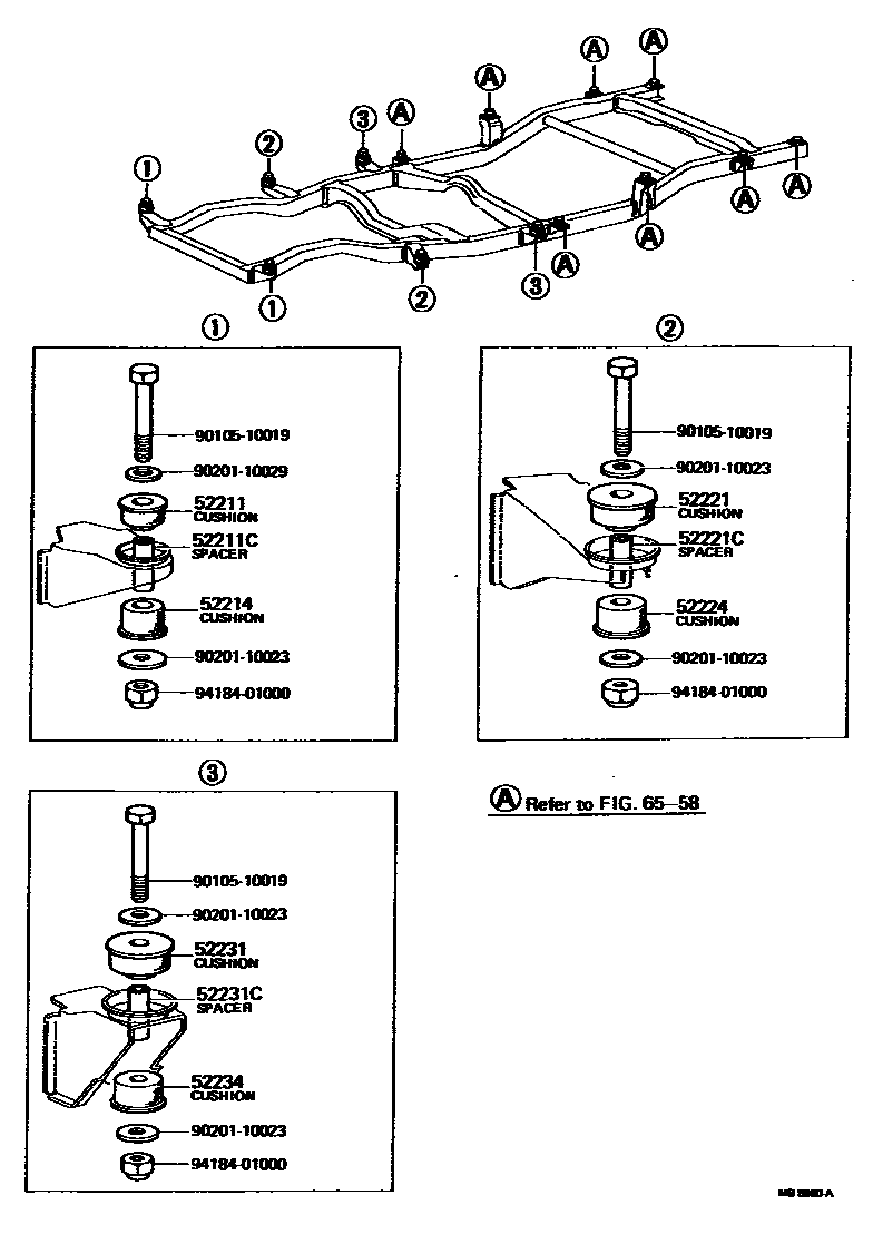
CAB MOUNTING & BODY MOUNTING

Parts diagram
52211CUSHION, BODY MOUNTING, NO.1 UPPER
main52201-35021i197808-198307
main52201-35030i197905-198307
52211CSPACER(FOR BODY MOUNTING NO.1 CUSHION)
main90440-16007i197808-198307
52214CUSHION, BODY MOUNT, NO.1 LOWER
main52202-35021i197808-198307
main52202-35030i197905-198307
52221CUSHION, BODY MOUNT, NO.2 UPPER
main52203-35031i197808-198307
main52203-35040i197905-198307
52221CSPACER(FOR BODY MOUNT NO.2 CUSHION)
main90440-16007i197808-198307
52224CUSHION, BODY MOUNT, NO.2 LOWER
main52204-35031i197808-197905
main52204-35040i197905-198307
52231CUSHION, BODY MOUNT, NO.3 UPPER
main52203-35031i197808-198307
main52203-35040i197905-198307
52231CSPACER(FOR BODY MOUNT NO.3 CUSHION)
main90440-16007i197808-198307
52234CUSHION, BODY MOUNT, NO.3 LOWER
main52204-35031i197808-198307
main52204-35040i197905-198307
6558REAR BODY MOUNTING
9010510019
9020110023
9020110029
9418401000

14 parts on this diagram · 1 diagram in section

CAB MOUNTING & BODY MOUNTING — Toyota Parts Diagram with OEM Numbers & Prices | EPC Data