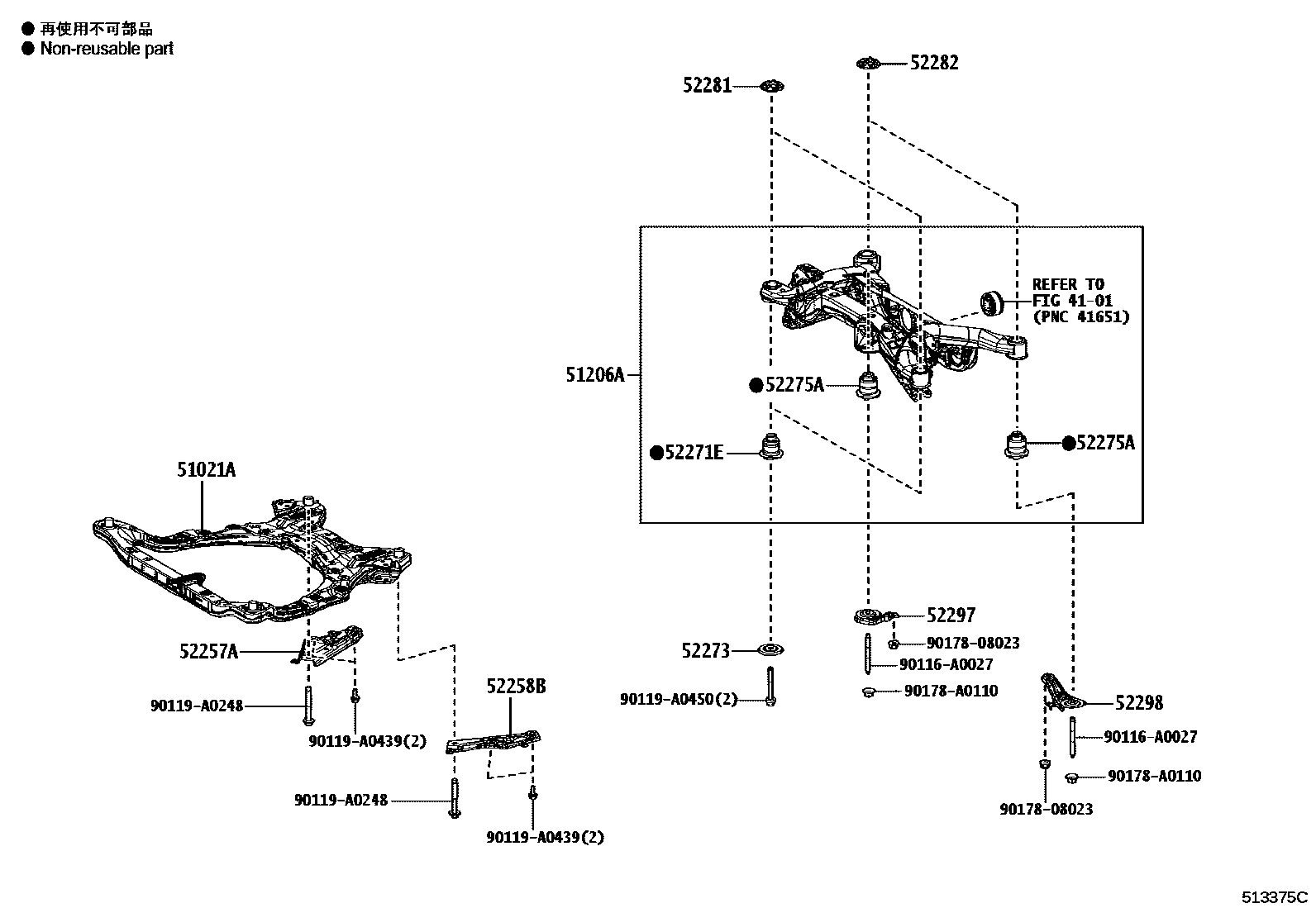
SUSPENSION CROSSMEMBER & UNDER COVER

4101REAR AXLE HOUSING & DIFFERENTIAL
51021AMEMBER SUB-ASSY, ENGINE FRONT SUPPORT
51206AMEMBER SUB-ASSY, REAR SUSPENSION
52257ABRACE, FRONT SUSPENSION MEMBER, REAR RH
52258BBRACE, FRONT SUSPENSION MEMBER, REAR LH
52271ECUSHION, REAR SUSPENSION MEMBER BODY MOUNTING, FRONT RH
52273STOPPER, REAR SUSPENSION MEMBER, LOWER
52275ACUSHION, REAR SUSPENSION MEMBER BODY MOUNTING, REAR
RH
LH
52281CUSHION, DIFFERENTIAL SUPPORT MEMBER
52282STOPPER, DIFFERENTIAL SUPPORT MEMBER, UPPER
52297BRACE, REAR SUSPENSION MEMBER, REAR LOWER RH
52298BRACE, REAR SUSPENSION MEMBER, REAR LOWER LH
90116A0027
main90116-A0027
90119A0248
main90119-A0248
90119A0439
main90119-A0439
90119A0450
main90119-A0450
9017808023
main90178-08023
90178A0110
main90178-A0110
18 parts on this diagram · 4 diagrams in section