E
EPC Data

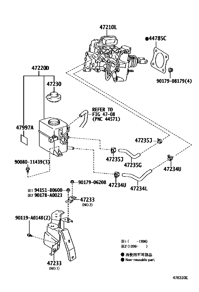
BRAKE MASTER CYLINDER

Parts diagram
44785CGASKET, BRAKE BOOSTER
main44785-02060i201204-201408
4708BRAKE TUBE & CLAMP
47210LBRAKE BOOSTER ASSY, W/MASTER CYLINDER
main47050-42010i201204-201205
main47050-42011i201206
47220DRESERVOIR ASSY, BRAKE MASTER CYLINDER
main47220-42120i201204-201408
47230CAP ASSY, BRAKE MASTER CYLINDER RESERVOIR FILLER
main47230-20140i201204
47233BRACKET, RESERVOIR
main47233-42010i201204
NO.1
main47233-42020i201204
NO.2
47234LHOSE, RESERVOIR, NO.1
main47234-42010i201204
47234UCLIP(FOR RESERVOIR HOSE NO.1)
main96137-41501×2i201204
47235GHOSE, RESERVOIR, NO.2
main47235-42010i201204
47235JCLIP(FOR RESERVOIR HOSE NO.2)
main96137-41501×2i201204
47997ALABEL, ACCUMULATOR CAUTION, NO.1
main47997-76010i201204
9008011439
90119A0148
90178A0023
9017906208
9017908179
9415180600

17 parts on this diagram · 1 diagram in section

BRAKE MASTER CYLINDER — Toyota Parts Diagram with OEM Numbers & Prices | EPC Data