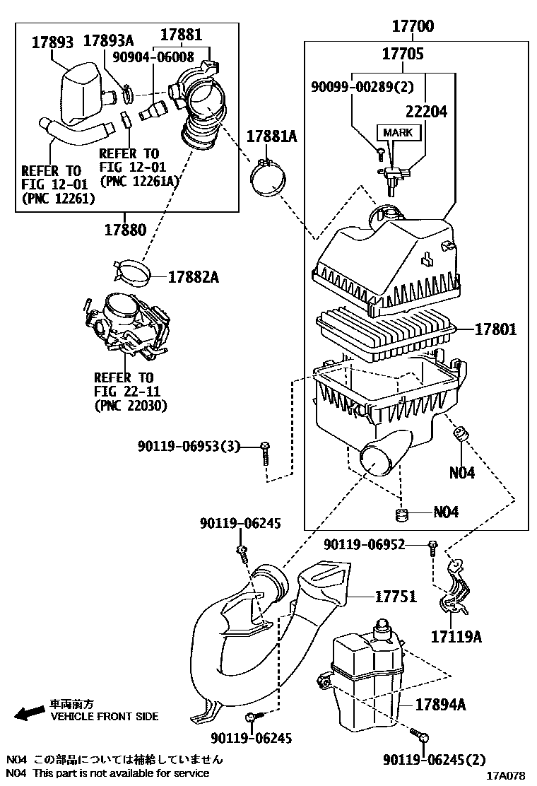
AIR CLEANER

1201VENTILATION HOSE
17119ABRACKET, AIR CLEANER
17700CLEANER ASSY, AIR
17705CAP SUB-ASSY, AIR CLEANER
17751INLET, AIR CLEANER, NO.1
17801ELEMENT SUB-ASSY, AIR CLEANER FILTER
17880HOSE ASSY, AIR CLEANER
17881HOSE, AIR CLEANER, NO.1
17881ACLAMP(FOR AIR CLEANER HOSE, NO.1)
17882ACLAMP(FOR AIR CLEANER HOSE, NO.2)
17893RESONATOR, INTAKE AIR
17893ACLAMP, HOSE
17894ARESONATOR, INTAKE AIR, NO.2
2211FUEL INJECTION SYSTEM
22204METER SUB-ASSY, INTAKE AIR FLOW
MARK 22204-0H010
MARK 22204-0P010
MARK 22204-0T010
MARK 22204-31020
9009900289
main90099-00289
9011906245
main90119-06245
9011906952
main90119-06952
9011906953
main90119-06953
9090406008
main90904-06008
20 parts on this diagram · 3 diagrams in section