E
EPC Data

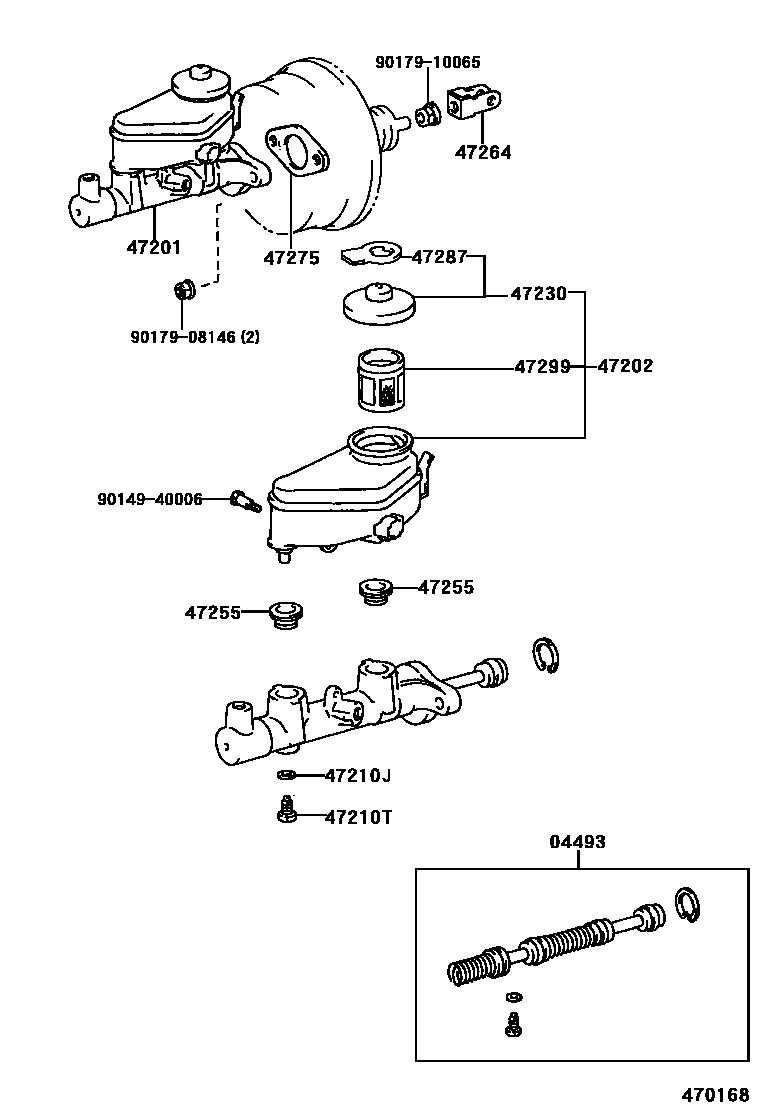
BRAKE MASTER CYLINDER

Parts diagram
04493CYLINDER KIT, BRAKE MASTER
main04493-42010i199511
W(ABS)
main04493-42020i199511
47201CYLINDER SUB-ASSY, BRAKE MASTER
main47201-42020i199511-199608
main47201-42040i199511-199608
main47201-42050i199511-199608
W(ABS)
main47201-42060i199511-199608
W(ABS)
main47201-42070i199608
main47201-42080i199608
main47201-42090i199608-199709
W(ABS)
main47201-42091i199709
W(ABS)
main47201-42100i199608-199709
W(ABS)
main47201-42101i199709
W(ABS)
47202RESERVOIR SUB-ASSY, BRAKE MASTER CYLINDER
main47220-17050i199511-199608
main47220-42020i199511-199608
main47220-42030i199608
main47220-42040i199608
47210JGASKET(FOR MASTER CYLINDER)
main90430-06104i199511
47210TBOLT(FOR BRAKE MASTER CYLINDER)
main90109-06077i199511
47230CAP ASSY, BRAKE MASTER CYLINDER RESERVOIR FILLER
main47230-20140i199511
47255GROMMET, MASTER CYLINDER RESERVOIR
main47255-16010×2i199511
47264CLEVIS, MASTER CYLINDER PUSH ROD
main47264-50010i199511
47275GASKET, BRAKE MASTER CYLINDER
main47275-12020i199511
47287LABEL, BRAKE FLUID INFORMATION
main47287-20010i199608
47299STRAINER, BRAKE MASTER CYLINDER RESERVOIR
main47299-20060i199608
main47299-24010i199511-199608
9014940006
9017908146
9017910065

14 parts on this diagram · 1 diagram in section

BRAKE MASTER CYLINDER — Toyota Parts Diagram with OEM Numbers & Prices | EPC Data