WIRING & CLAMP

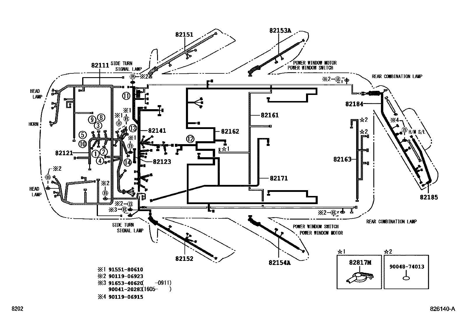
82111WIRE, ENGINE ROOM MAIN
W/PART NUMBER LABEL
W/PART NUMBER LABEL
DESTINATION PACKAGE(ALL)-CHILE&HI-G PACKAGE,W/PART NUMBER LABEL; DESTINATION PACKAGE(ALL)-CHILE,W/PART NUMBER LABEL; HI-G PACKAGE,W/PART NUMBER LABEL
DESTINATION PACKAGE(ALL)-CHILE&HI-G PACKAGE,W/PART NUMBER LABEL; DESTINATION PACKAGE(ALL)-CHILE,W/PART NUMBER LABEL; HI-G PACKAGE,W/PART NUMBER LABEL
82123WIRE, ENGINE, NO.3
82141WIRE, INSTRUMENT PANEL
W/PART NUMBER LABEL
W/PART NUMBER LABEL
W/PART NUMBER LABEL
W/PART NUMBER LABEL
82151WIRE, FRONT DOOR, RH
82152WIRE, FRONT DOOR, LH
82153AWIRE, REAR DOOR, RH
82154AWIRE, REAR DOOR, LH
82161WIRE, FLOOR
82162WIRE, FLOOR, NO.2
82163WIRE, FLOOR, NO.3
82171WIRE, ROOF, NO.1
82184WIRE, BACK DOOR, NO.1
82185WIRE, BACK DOOR, NO.2
DESTINATION PACKAGE(ALL)-CHILE&REAR SPOILER-WITH
82817MPROTECTOR, WIRING HARNESS, NO.12
9004120283
main90041-20283
9004874013
main90048-74013
9011906915
main90119-06915
9011906923
main90119-06923
9155180610
main91551-80610
9165340620
main91653-40620
21 parts on this diagram · 8 diagrams in section