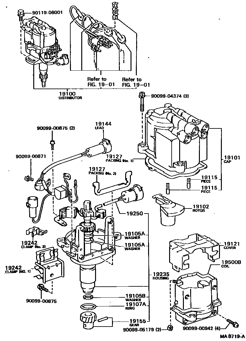
DISTRIBUTOR

1901
19100DISTRIBUTOR ASSY
19101CAP SUB-ASSY, DISTRIBUTOR
19102ROTOR SUB-ASSY, DISTRIBUTOR
sub19102-73180
19105AWASHER(FOR GOVERNOR SHAFT THRUST)
T=0.3
T=0.4
T=0.6
T=0.5
19105BWASHER, NO.2(FOR GOVERNOR SHAFT THRUST)
19107ARING, O, DISTRIBUTOR HOUSING
sub90099-14090
19115PIECE, DISTRIBUTOR CAP, CENTER
19121COVER, DUST PROOF
19127PACKING, DUST PROOF
NO.1
NO.2
19144LEAD, DISTRIBUTOR BREAKER
19155GEAR, SPIRAL, DISTRIBUTOR
sub19195-72090
19235HOUSING, DISTRIBUTOR
19242CLAMP, CORD
NO.2
NO.1
19250GENERATOR ASSY, SIGNAL
19500BCOIL ASSY, IGNITION
9009900871
main90099-00871
9009900875
main90099-00875
9009900942
main90099-00942
9009904374
main90099-04374
9009905179
main90099-05179
9011908001
main90119-08001
22 parts on this diagram · 1 diagram in section